Operation CHARM: Car repair manuals for everyone.
Manuals through 2025 now available!

Our trusted friends have launched a new website named LEMON, which has newer manuals. It also contains all the CHARM manuals.

LEMON is the spiritual successor to CHARM, I recommend you try it!

Link: lemon-manuals.la or lemon-manuals.org.ua

(Some people have issue connecting. LEMON is investigating. For now, use Firefox or change your DNS server)

Or, hide this message: temporarily or permanently

Cylinder Block Assembly: Testing and Inspection





4GR-FSE ENGINE MECHANICAL: CYLINDER BLOCK: INSPECTION

1. INSPECT CONNECTING ROD THRUST CLEARANCE

(a) Install the connecting rod cap Reassembly.

(b) Using a dial indicator, measure the thrust clearance while moving the connecting rod back and forth.





Standard thrust clearance:

0.25 to 0.40 mm (0.00984 to 0.0157 in.)

Maximum thrust clearance:

0.50 mm (0.0197 in.)

If the thrust clearance is greater than the maximum, replace the connecting rod assembly. If necessary, replace the crankshaft.

2. INSPECT CONNECTING ROD OIL CLEARANCE

(a) Clean the crank pin and bearing.

(b) Check the crank pin and bearing for pitting and scratches.

(c) Lay a strip of Plastigage on the crank pin.





Text in Illustration





(d) Ensure that the front mark of the connecting rod cap is facing forward.





Text in Illustration





(e) Install the connecting rod cap Reassembly.

NOTICE:
Do not turn the crankshaft.

(f) Remove the 2 bolts and connecting rod cap Disassembly.

(g) Measure the Plastigage at its widest point.





Text in Illustration





Standard oil clearance:

0.042 to 0.068 mm (0.00165 to 0.00268 in.)

Maximum oil clearance:

0.070 mm (0.00276 in.)

If the oil clearance is greater than the maximum, replace the connecting rod bearings. If necessary, inspect the crankshaft.

HINT
If replacing a bearing, replace it with one that has the same number as its respective connecting rod cap. Each bearing standard thickness is indicated by a number (1, 2, 3 or 4) marked on its surface.

Connecting Rod Diameter:





Connecting Rod Bearing Center Wall Thickness:





Standard crankshaft pin diameter:

47.992 to 48.000 mm (1.8894 to 1.8898 in.)

NOTICE:
Completely remove the Plastigage after the measurement.

3. INSPECT CYLINDER BLOCK FOR WARPAGE

(a) Using a precision straightedge and feeler gauge, measure the warpage of the contact surface of the cylinder head gasket.





Maximum warpage:

0.07 mm (0.00276 in.)

If the warpage is greater than the maximum, replace the cylinder block sub-assembly.

4. INSPECT CYLINDER BORE

(a) Visually check the cylinder for vertical scratches.





If deep scratches are present, rebore all the 6 cylinders. If necessary, replace the cylinder block.

(b) Using a cylinder gauge, measure the cylinder bore diameter at positions A and B in the thrust and axial directions.





Text in Illustration





Standard diameter:

83.000 to 83.012 mm (3.2677 to 3.2682 in.)

Maximum diameter:

83.200 mm (3.2756 in.)

If the average diameter of 4 positions is greater than the maximum, replace the cylinder block sub-assembly.

5. INSPECT PISTON SUB-ASSEMBLY WITH PIN

(a) Using a micrometer, measure the piston diameter at right angles to the piston center line where the distance from the piston end is as specified.





Distance:

14.3 mm (0.563 in.)

Standard diameter:

82.966 to 82.996 mm (3.2664 to 3.2676 in.)

Minimum diameter:

82.836 mm (3.2613 in.)

If the piston diameter is less than the minimum, replace the piston and piston pin as a set.

6. INSPECT PISTON OIL CLEARANCE

(a) Measure the cylinder bore diameter in the thrust directions.

(b) Subtract the piston diameter measurement from the cylinder bore diameter measurement.

Standard oil clearance:

0.014 to 0.036 mm (0.000551 to 0.00142 in.)

Maximum oil clearance:

0.090 mm (0.00354 in.)

If the oil clearance is greater than the maximum, replace all the pistons. If necessary, replace the cylinder block sub-assembly.

7. INSPECT RING GROOVE CLEARANCE

(a) Using a feeler gauge, measure the clearance between a new piston ring and the wall of the ring groove.





Ring Groove Clearance:





If the clearance is not as specified, replace the piston.

8. INSPECT PISTON PIN OIL CLEARANCE

(a) Using a caliper gauge, measure the inside diameter of the piston pin hole.





Piston Pin Hole Inside Diameter:





(b) Using a micrometer, measure the piston pin diameter.





Piston Pin Diameter:





(c) Subtract the piston pin diameter measurement from the piston pin hole diameter measurement.

Standard oil clearance:

-0.002 to 0.004 mm (-0.0000787 to 0.000156 in.)

Maximum oil clearance:

0.015 mm (0.000591 in.)

If the oil clearance is greater than the maximum, replace the piston and piston pin as a set.

(d) Using a caliper gauge, measure the inside diameter of the connecting rod bushing.





Bushing Inside Diameter:





(e) Subtract the piston pin diameter measurement from the bushing inside diameter measurement.





Text in Illustration





Standard oil clearance:

0.005 to 0.011 mm (0.000197 to 0.000433 in.)

Maximum oil clearance:

0.030 mm (0.00118 in.)

If the oil clearance is greater than the maximum, replace the bushing. If necessary, replace the connecting rod and piston pin as a set.

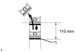
9. INSPECT PISTON RING END GAP

(a) Insert the piston ring into the cylinder bore.

(b) Using a piston, push the piston ring slightly beyond the bottom of the ring travel, 110 mm (4.33 in.) from the top of the cylinder block sub-assembly.





Text in Illustration





(c) Using a feeler gauge, measure the end gap.





Standard End Gap:





Maximum End Gap:





If the end gap is greater than the maximum, replace the piston ring. If the end gap is greater than the maximum even with a new piston ring, rebore all the 6 cylinders or replace the cylinder block sub-assembly.

10. INSPECT CRANKSHAFT THRUST CLEARANCE

(a) Install the crankshaft bearing cap Reassembly.

(b) Using a dial indicator, measure the thrust clearance while prying the crankshaft back and forth with a screwdriver.





Standard thrust clearance:

0.040 to 0.240 mm (0.00158 to 0.00944 in.)

Maximum thrust clearance:

0.30 mm (0.0118 in.)

If the thrust clearance is greater than the maximum, replace the thrust washers as a set. If necessary, replace the crankshaft.

Thrust washer thickness:

2.43 to 2.48 mm (0.0957 to 0.0976 in.)

11. INSPECT CONNECTING ROD SUB-ASSEMBLY

(a) Using a rod aligner and feeler gauge, check the connecting rod alignment.





(1) Check for out-of-alignment.

Maximum out-of-alignment:

0.05 mm (0.00197 in.) per 100 mm (3.94 in.)

If the out-of-alignment is greater than the maximum, replace the connecting rod sub-assembly.

(2) Check for twist.





Maximum twist:

0.15 mm (0.00591 in.) per 100 mm (3.94 in.)

If the twist is greater than the maximum, replace the connecting rod sub-assembly.

12. INSPECT CONNECTING ROD BOLT

(a) Using a vernier caliper, measure the diameter of the bolt at several points within the area shown in the illustration.





Standard diameter:

7.2 to 7.3 mm (0.284 to 0.287 in.)

Minimum diameter:

7.0 mm (0.276 in.)

If the diameter is less than the minimum, replace the bolt.

HINT
* Diameter measurements should be done at several points.
* If the diameter is less than the minimum, replace the connecting rod bolt with a new one. Failure to do so may lead to engine damage.
* If there is any thread deformation, replace the connecting rod bolt with a new one.

13. INSPECT CRANKSHAFT

(a) Inspect for runout.

(1) Clean the crank journal.

(2) Place the crankshaft on V-blocks.

(3) Using a dial indicator, measure the runout at the center journal.





Maximum runout:

0.06 mm (0.00236 in.)

If the runout is greater than the maximum, replace the crankshaft.

(b) Inspect the main journals.





(1) Using a micrometer, measure the diameter of each main journal.

Standard journal diameter:

60.988 to 61.000 mm (2.4011 to 2.4016 in.)

If the diameter is not as specified, check the oil clearance. If necessary, replace the crankshaft.

(2) Check each main journal for taper and out-of-round as shown in the illustration.

Maximum taper and out-of-round:

0.02 mm (0.000787 in.)

If the taper and out-of-round is greater than the maximum, replace the crankshaft.

(c) Inspect the crank pin.





(1) Using a micrometer, measure the diameter of each crank pin.

Crank pin diameter:

47.992 to 48.000 mm (1.8894 to 1.8898 in.)

If the diameter is not as specified, check the oil clearance. If necessary, replace the crankshaft.

(2) Check each crank pin for taper and out-of-round as shown in the illustration.

Maximum taper and out-of-round:

0.02 mm (0.000787 in.)

If the taper and out-of-round is greater than the maximum, replace the crankshaft.

14. INSPECT CRANKSHAFT OIL CLEARANCE

(a) Check the crank journal and crankshaft bearing for pitting and scratches.

(b) Install the crankshaft bearing Reassembly.

(c) Place the crankshaft on the cylinder block.

(d) Lay a strip of Plastigage across each journal.





Text in Illustration





(e) Examine the front marks and numbers to install the crankshaft bearing caps on the cylinder block.

HINT
A number is marked on each main bearing cap to indicate the installation position.

(f) Install the main bearing caps Reassembly.

NOTICE:
Do not turn the crankshaft.

(g) Remove the main bearing caps Disassembly.

(h) Measure the Plastigage at its widest point.





Text in Illustration





Standard oil clearance:

0.026 to 0.047 mm (0.00102 to 0.00185 in.)

Maximum oil clearance:

0.050 mm (0.00197 in.)

If the oil clearance is greater than the maximum, replace the bearings. If necessary, replace the crankshaft.

NOTICE:
Completely remove the Plastigage after the measurement.

(i) If replacing a bearing, replace it with one having the same number. If the number of the bearing cannot be determined, select the correct bearing by adding together the numbers imprinted on the cylinder block and crankshaft, then refer to the table below for the appropriate bearing number. There are 5 sizes of standard bearings, marked "1", "2", "3", "4" and "5" accordingly.





Text in Illustration





Journal Bearings





HINT
EXAMPLE: Cylinder block "11" + Crankshaft "06" = Total number 17 (Use bearing "3")

Crankshaft Main Journal Diameter:





Standard Upper Bearing Center Wall Thickness (No. 1 and No. 4 journal):





Standard Lower Bearing Center Wall Thickness (No. 1 and No. 4 journal):





Standard Upper Bearing Center Wall Thickness (No. 2 and No. 3 journal):





Standard Lower Bearing Center Wall Thickness (No. 2 and No. 3 journal):





15. INSPECT CRANKSHAFT BEARING CAP SET BOLT

(a) Using a vernier caliper, measure the diameter of the threads at the measurement point.





Standard diameter:

10.8 to 11.0 mm (0.4252 to 0.4331 in.)

Minimum diameter:

10.7 mm (0.4213 in.)

Measurement point (distance from the seat):

47 mm (1.85 in.)

HINT
* If the diameter is less than the minimum, replace the crankshaft bearing cap set bolt. Failure to do so may lead to engine damage.
* If there is any thread deformation, replace the crankshaft bearing cap set bolt with a new one.

16. INSPECT NO. 1 OIL NOZZLE SUB-ASSEMBLY

(a) Check the oil nozzles for damage or clogs.

HINT
If there is damage or clogs, replace the oil nozzle.