Operation CHARM: Car repair manuals for everyone.
Manuals through 2025 now available!

Our trusted friends have launched a new website named LEMON, which has newer manuals. It also contains all the CHARM manuals.

LEMON is the spiritual successor to CHARM, I recommend you try it!

Link: lemon-manuals.la or lemon-manuals.org.ua

(Some people have issue connecting. LEMON is investigating. For now, use Firefox or change your DNS server)

Or, hide this message: temporarily or permanently

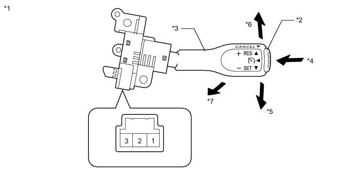
Cruise Control Switch: Testing and Inspection





CRUISE CONTROL: CRUISE CONTROL MAIN SWITCH: INSPECTION

1. INSPECT CRUISE CONTROL MAIN SWITCH

(a) for cruise control system:

(1) Measure the resistance according to the value(s) in the table below.





Text in Illustration





Standard Resistance:





*1: Lever is in the neutral position

If the result is not as specified, replace the cruise control main switch.

(b) for dynamic radar cruise control system:

(1) Measure the resistance according to the value(s) in the table below.





Text in Illustration





Standard Resistance:





*1: Lever is in the neutral position

If the result is not as specified, replace the cruise control main switch.