Operation CHARM: Car repair manuals for everyone.
Manuals through 2025 now available!

Our trusted friends have launched a new website named LEMON, which has newer manuals. It also contains all the CHARM manuals.

LEMON is the spiritual successor to CHARM, I recommend you try it!

Link: lemon-manuals.la or lemon-manuals.org.ua

(Some people have issue connecting. LEMON is investigating. For now, use Firefox or change your DNS server)

Or, hide this message: temporarily or permanently

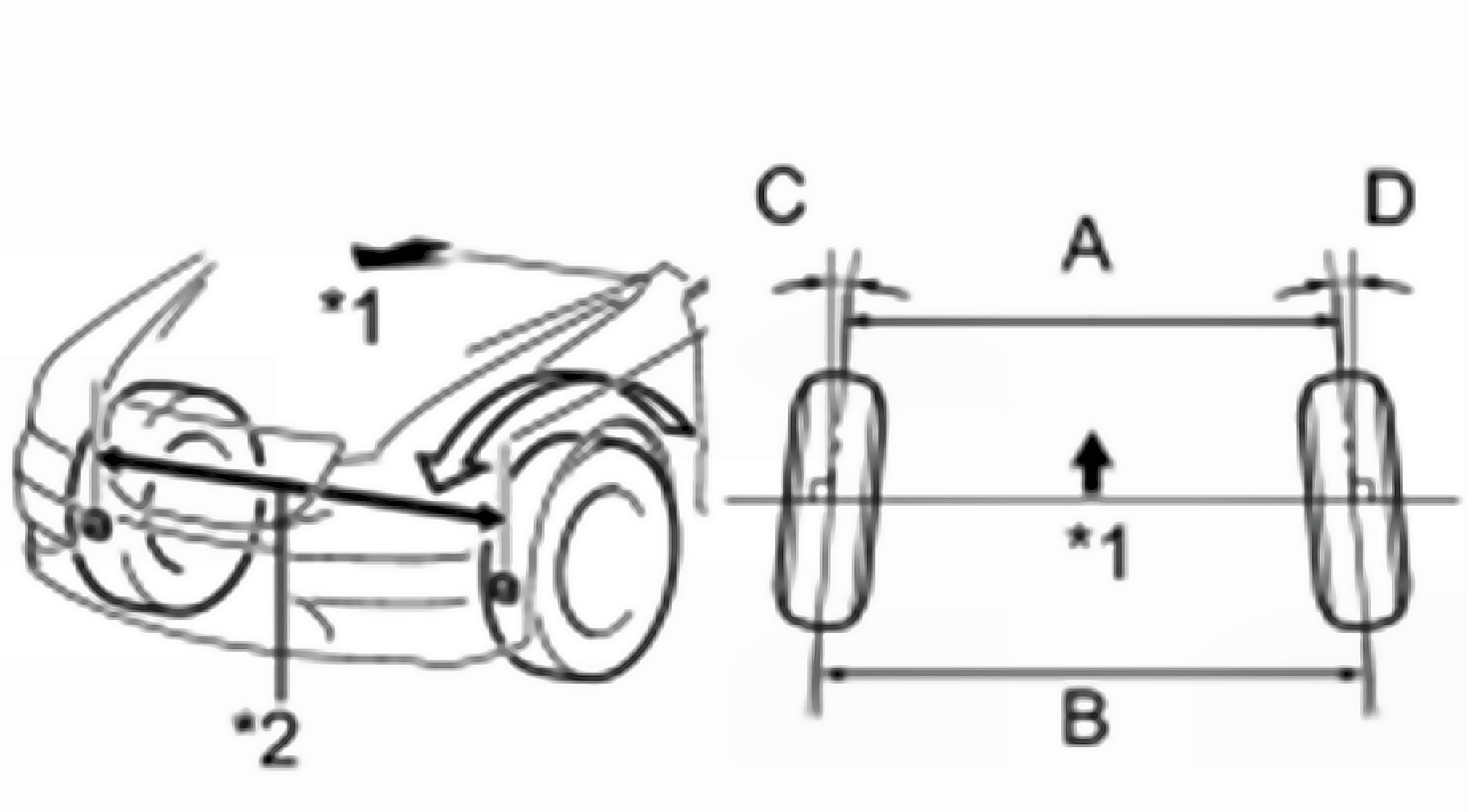
Alignment




Wheel Alignment Specifications

Measurement Points:





A: Ground clearance of front lower suspension arm bushing set bolt center
B: Ground clearance of rear No. 2 suspension arm adjust bolt center
C: Ground clearance of front wheel center
D: Ground clearance of rear wheel center

Vehicle Height:





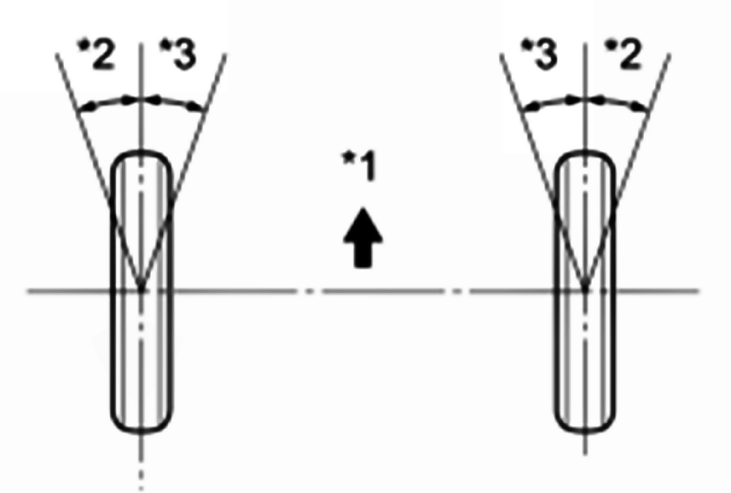
Camber and Caster:





Measurement Points:





Steering Axis and Toe-in:





Measurement Points:





Wheel Turning Angle: