Operation CHARM: Car repair manuals for everyone.
Manuals through 2025 now available!

Our trusted friends have launched a new website named LEMON, which has newer manuals. It also contains all the CHARM manuals.

LEMON is the spiritual successor to CHARM, I recommend you try it!

Link: lemon-manuals.la or lemon-manuals.org.ua

(Some people have issue connecting. LEMON is investigating. For now, use Firefox or change your DNS server)

Or, hide this message: temporarily or permanently

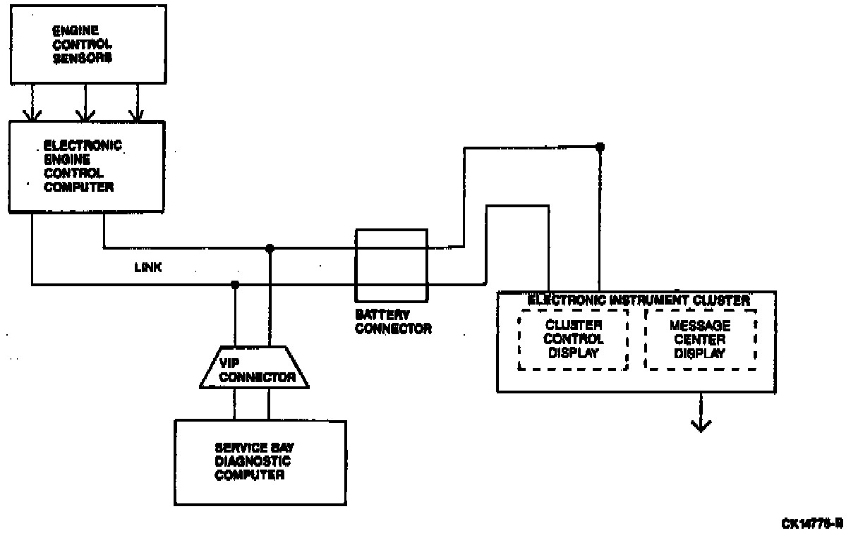
Information Bus: Description and Operation

Data Communications Link (DCL) Network:





The Data Communications Link (DCL) is a wiring system that allows the sharing of information between the Electronic Engine Control System (EEC-IV), the Electronic Instrument Cluster (EIC) and external equipment.

The EEC-IV system transmits the following information through the DCL to the EIC:
1. Engine RPM.
2. Engine coolant temperature.
3. EEC-IV malfunction indication.
4. Fuel used.

The DCL system transmits Malfunction Indicator Lamp (MIL) information to the EIC. The EIC uses MIL information to generate a CHECK ENGINE warning in the event of an engine sensor failure.

The EIC will display the message "CHECK DCL" on its Message Center Display if it is not receiving data from the EEC-IV. This warning is turned off whenever data communication is restored.

The EEC-IV monitors the Data Communication Link for faults. If a fault occurs in data communication a continuous Memory Code is set in the EEC-IV. The DCL Codes (529 for EEC-IV and 533 for EIC) can occur separately or together. These codes are not immediately cleared when data communication is restored.

The existance of a DCL code does NOT mean that a module has failed.