Operation CHARM: Car repair manuals for everyone.
Manuals through 2025 now available!

Our trusted friends have launched a new website named LEMON, which has newer manuals. It also contains all the CHARM manuals.

LEMON is the spiritual successor to CHARM, I recommend you try it!

Link: lemon-manuals.la or lemon-manuals.org.ua

(Some people have issue connecting. LEMON is investigating. For now, use Firefox or change your DNS server)

Or, hide this message: temporarily or permanently

Check DCL Quick Test

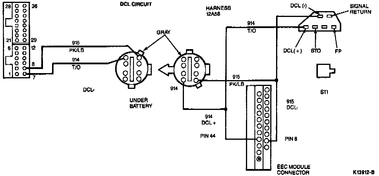
Data Communications Link (DCL) Circuit Schematic:




Check Engine (MIL)/Check DCL Warning Circuitry

A Data Communications Link (DCL) concern can be either a wiring/connector condition or a powertrain control module condition.
1. Perform Electronic Instrument Cluster (EIC) Self Test as outlined. EIC Self Test

Quick Test
1. Ignition switch in RUN, engine off and look for:
a. On message center:
^ CHARGE SYSTEM warning
2. Start engine and look for:
a. On message center:
^ CHECK ENGINE (MIL) message
^ CHECK DCL message
b. On temperature gauge:
^ Diagnostic Bars

Table 1 Symptom Group For Non-DCL Conditions - Engine Running:





Table 2 DCL System Group - Engine Running:





Use the tables to perform service procedures. The tables relate concerns to symptom groups. The RH column on the tables will list combination of symptoms found on vehicle.
1. Look for symptom groups in first table for non-DCL concerns. This table lists conditions that appear as DCL concerns, but are actually conditions in another system.
2. If the first table is not appropriate, then proceed to second table.
3. Consult related Technical Service Bulletins (TSB) and Oasis messages related to DCL.

DCL Failure Modes Chart Key On, Engine Running:





The location indicators used in Tables 1 and 2 are shown in the DCL failure mode chart.

NOTE: KOEO = Key On Engine Off

NOTE: When troubleshooting concerns, check connectors and wiring for shorts, opens and crossed connections. Only after wiring has been checked should modules be replaced, if symptoms still exist. Consult TSB or Oasis message system for specific concerns affecting this system.