Operation CHARM: Car repair manuals for everyone.
Manuals through 2025 now available!

Our trusted friends have launched a new website named LEMON, which has newer manuals. It also contains all the CHARM manuals.

LEMON is the spiritual successor to CHARM, I recommend you try it!

Link: lemon-manuals.la or lemon-manuals.org.ua

(Some people have issue connecting. LEMON is investigating. For now, use Firefox or change your DNS server)

Or, hide this message: temporarily or permanently

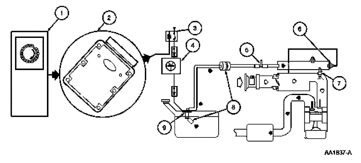
Mechanical Returnless Fuel System





Mechanical Returnless Fuel System

The fuel system consists of a fuel tank with reservoir, fuel pump, fuel pressure regulator, fuel filter, fuel supply line, fuel rail, fuel rail pulse damper, fuel injectors, and schrader/pressure test point. Operation of the system is as follows (Figure 58):

1. The fuel delivery system is enabled during crank or running mode once the PCM receives a crankshaft position (CKP) sensor signal.
2. The fuel pump logic is defined in the fuel system control strategy and is executed by the PCM.
3. The PCM grounds the fuel pump relay, which provides VPWR to the fuel pump.
4. The inertia fuel shut-off (IFS) switch is used to de-energize the fuel delivery secondary circuit in the event of collision. The IFS switch is a safety device that should only be reset after a thorough inspection of the vehicle (following a collision).
5. A pressure test point valve (schrader valve) is located on the fuel rail. This is used to measure fuel injector supply pressure for diagnostic procedures and repairs.
6. Located on the fuel rail is a pulse damper. The pulse damper reduces fuel system noise caused by the pulsing of the fuel injectors. The vacuum port located on the damper is connected to manifold vacuum to avoid fuel spillage in the event the pulse damper diaphragm were to rupture (the pulse damper should not be confused with a fuel pressure regulator).
7. The fuel injector is a solenoid-operated valve that meters the fuel flow to each combustion cylinder. The fuel injector is opened and closed a constant number of times per crankshaft revolution. The amount of fuel is controlled by the length of time the fuel injector is held open. The injector is normally closed and is operated by 12 volt VPWR from the power relay. The ground signal is controlled by the PCM.
8. There are three filtering or screening devices in the fuel delivery system. The intake sock is a fine, nylon mesh screen mounted on the intake side of the fuel pump. There is a fuel filter screen located at the fuel rail side of the fuel injector. The fuel filter assembly is located between the fuel pump and the pressure test point/schrader valve.
9. The fuel pump (FP) module contains the fuel pump, fuel pressure regulator and the fuel sender assembly. The fuel pressure regulator is attached to the fuel pump in the fuel pump module located in the fuel tank. It regulates fuel pressure supplied to the fuel injectors. The fuel pressure regulator is a diaphragm-operated relief valve. Fuel pressure is established by a spring preload applied to the diaphragm. Excess fuel is bypassed through the regulator and returned to the fuel tank.