Operation CHARM: Car repair manuals for everyone.
Manuals through 2025 now available!

Our trusted friends have launched a new website named LEMON, which has newer manuals. It also contains all the CHARM manuals.

LEMON is the spiritual successor to CHARM, I recommend you try it!

Link: lemon-manuals.la or lemon-manuals.org.ua

(Some people have issue connecting. LEMON is investigating. For now, use Firefox or change your DNS server)

Or, hide this message: temporarily or permanently

Compressor Clutch: Service and Repair






SPECIAL SERVICE TOOL(S)

REMOVAL
1. Remove the A/C compressor. For additional information, refer to Compressor.







2. Remove the bolt.
1 Hold the A/C clutch hub with the Compressor Clutch Holding Tool.
2 Remove the bolt.







3. Remove the A/C clutch and the A/C clutch hub spacer.
1 Thread an 8 x 1.25 mm bolt into the A/C clutch hub spacer to force it from the compressor shaft.
2 Lift the A/C clutch and the A/C clutch hub spacer from the compressor shaft.







4. Remove the pulley snap ring.







5. Remove the A/C clutch pulley.







6. Remove the A/C clutch field coil.
1 Note the location of the A/C clutch field coil electrical connector.
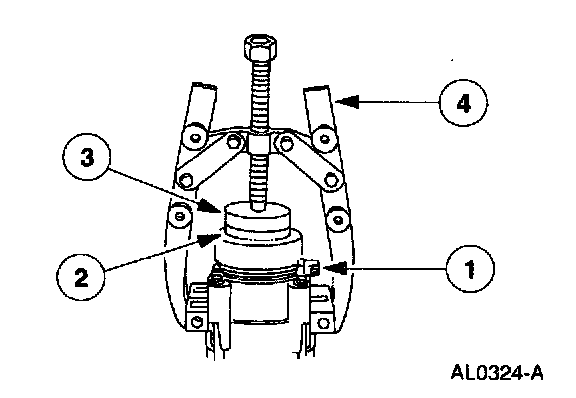
2 Install the Field Coil Remover or the nose opening of the A/C compressor.
3 Install the Puller - Differential Bearing Cone Remover.
4 Remove the A/C clutch field coil.

CAUTION: Do not use air tools. The A/C clutch field coil can be easily damaged.

INSTALLATION
1. Clean the A/C clutch field coil and pulley mounting surfaces.







2. Install the A/C clutch field coil.
1 Place the A/C clutch field coil on the A/C compressor with the A/C clutch field coil electrical connector correctly positioned.
2 Place the Field Coil Replacer on the A/C clutch field coil.
Place the Coil Replacer on the Field Coil Replacer.

3 Use the 2-Jaw Puller to install the A/C clutch field coil until bottomed completely against the A/C compressor.

CAUTION: Do not use air tools. The A/C clutch field coil can be easily damaged.







3. Install the A/C clutch pulley.


NOTE: The A/C clutch pulley is a tight fit on the A/C compressor head; it must be correctly aligned during installation.







4. Install the pulley snap ring with the bevel side out.







5. Place one nominal thickness A/C clutch hub spacer inside the clutch hub spline opening.







6. Install the A/C clutch.







7. Install the bolt.
1 Hold the A/C clutch hub with the Compressor Clutch Holding Tool.
2 Tighten the bolt.







A/C Compressor Clutch Assembly:






8. Measure and adjust the clutch air gap by removing or adding A/C clutch hub spacers.
9. Install the A/C compressor. For additional information, refer to Compressor.