Operation CHARM: Car repair manuals for everyone.
Manuals through 2025 now available!

Our trusted friends have launched a new website named LEMON, which has newer manuals. It also contains all the CHARM manuals.

LEMON is the spiritual successor to CHARM, I recommend you try it!

Link: lemon-manuals.la or lemon-manuals.org.ua

(Some people have issue connecting. LEMON is investigating. For now, use Firefox or change your DNS server)

Or, hide this message: temporarily or permanently

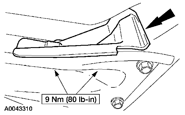
Cross-Member: Service and Repair

TRANSMISSION CROSSMEMBER

Removal and Installation

1. Raise and support vehicle.







2. Remove the four crossmember splash shield bolts and splash shield.







3. Remove the parts in the order indicated in the illustration and table.
4. To install, reverse the removal procedure.

Item 2: Transmission Mount Nuts Removal Note
1. Support transmission with suitable jack.







Item 3: Upper Crossmember Bolts Removal Note
1. Remove the plastic shield on the right side of the crossmember to access bolts.