Operation CHARM: Car repair manuals for everyone.
Manuals through 2025 now available!

Our trusted friends have launched a new website named LEMON, which has newer manuals. It also contains all the CHARM manuals.

LEMON is the spiritual successor to CHARM, I recommend you try it!

Link: lemon-manuals.la or lemon-manuals.org.ua

(Some people have issue connecting. LEMON is investigating. For now, use Firefox or change your DNS server)

Or, hide this message: temporarily or permanently

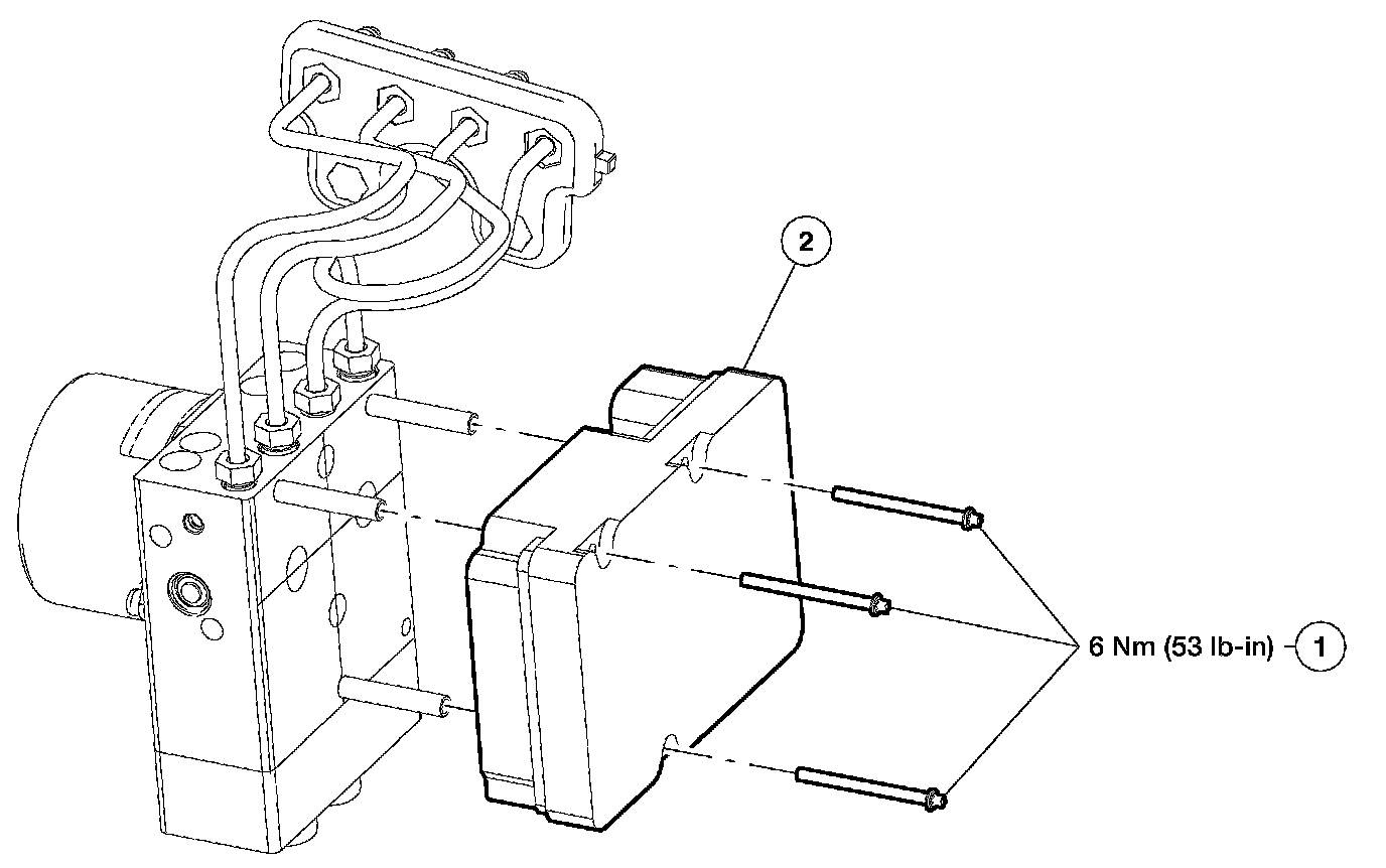
Electronic Brake Control Module: Service and Repair

Anti-Lock Brake System (ABS) Module

Removal and Installation

WARNING: Brake fluid contains polyglycol ethers and polyglycols. Avoid contact with eyes. Wash hands thoroughly after handling. If brake fluid contacts eyes, flush eyes with running water for 15 minutes. Get medical attention if irritation persists. If taken internally, drink water and induce vomiting. Get medical attention immediately. Failure to follow these instructions may result in personal injury.

CAUTION: Brake fluid is harmful to painted and plastic surfaces. If brake fluid is spilled onto a painted or plastic surface, immediately wash it with water.

CAUTION: Electronic modules are sensitive to electrical charges. The ABS module can be damaged if exposed to these charges.

NOTE: When installing a new ABS module, it must be configured (using vehicle as-built data) and calibrated. Follow the diagnostic tool directions for the configuration and calibration procedures.

1. Remove the Hydraulic Control Unit (HCU).





2. Remove the parts in the order indicated in the illustration and table.
3. To install, reverse the removal procedure.