Operation CHARM: Car repair manuals for everyone.
Manuals through 2025 now available!

Our trusted friends have launched a new website named LEMON, which has newer manuals. It also contains all the CHARM manuals.

LEMON is the spiritual successor to CHARM, I recommend you try it!

Link: lemon-manuals.la or lemon-manuals.org.ua

(Some people have issue connecting. LEMON is investigating. For now, use Firefox or change your DNS server)

Or, hide this message: temporarily or permanently

Oil Pan, Engine





Oil Pan
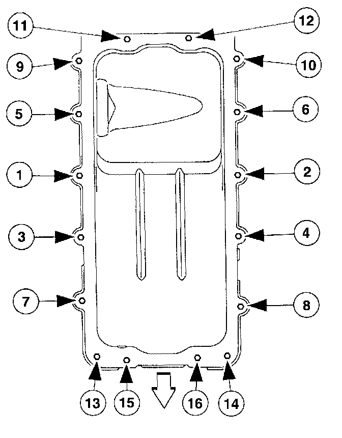
Tighten the bolts in the sequence shown in three stages:
1: Tighten 2 Nm (18 inch lbs.)
2: Tighten 20 Nm (15 ft. lbs.)
3: Tighten an additional 60 degrees.





Oil pan bolts
Tighten in the sequence shown.
1: Tighten 2 Nm (18 inch lbs.)
2: Tighten 20 Nm (15 ft. lbs.)
3: Tighten an additional 60 degrees