Operation CHARM: Car repair manuals for everyone.
Manuals through 2025 now available!

Our trusted friends have launched a new website named LEMON, which has newer manuals. It also contains all the CHARM manuals.

LEMON is the spiritual successor to CHARM, I recommend you try it!

Link: lemon-manuals.la or lemon-manuals.org.ua

(Some people have issue connecting. LEMON is investigating. For now, use Firefox or change your DNS server)

Or, hide this message: temporarily or permanently

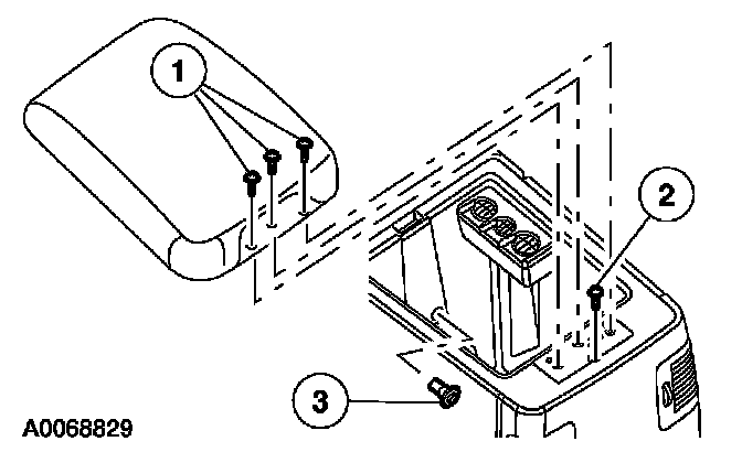
Console: Service and Repair

FLOOR CONSOLE

REMOVAL
1. Position the seats as needed to remove the console.
2. Disconnect the battery.







3. To remove individual components only, carry out the steps.


Part 1:






Part 2:






4. Remove the components in the order indicated in the illustration and table.

Item 1: Armrest Removal Note







1. Remove the armrest hinge screws.
2. Remove the screw.
3. Remove the rivet.

Item 2: Console Storage Bin Removal Note
1. Pull upward to release the retainers.
2. Disconnect the electrical connectors.

Item 3: Lower Instrument Panel Finish Panel Removal Note
1. Pull upward from the front of the trim panel to release the retainers.
2. Disconnect the electrical connectors.

Item 6: Cup Holder Removal Note
1. Disconnect the electrical connectors.

Item 10: Floor Console Assembly Removal Note
1. Disconnect the electrical connectors.
2. Lift the console from the rear and slide it rearward to release the rear seat heater ducts from the instrument panel.

INSTALLATION
1. To install, reverse the removal procedure.