Operation CHARM: Car repair manuals for everyone.
Manuals through 2025 now available!

Our trusted friends have launched a new website named LEMON, which has newer manuals. It also contains all the CHARM manuals.

LEMON is the spiritual successor to CHARM, I recommend you try it!

Link: lemon-manuals.la or lemon-manuals.org.ua

(Some people have issue connecting. LEMON is investigating. For now, use Firefox or change your DNS server)

Or, hide this message: temporarily or permanently

Part 1

Engine








Special Tool(s)

Disassembly





1. Illustration 1 of 24. Remove the components in the order indicated in the illustration and table.





2. Illustration 2 of 24. Remove the components in the order indicated in the illustration and table.








3. Illustration 3 of 24. Remove the components in the order indicated in the illustration and table.








4. Illustration 4 of 24. Remove the components in the order indicated in the illustration and table.





5. Illustration 5 of 24. Remove the components in the order indicated in the illustration and table.





6. Illustration 6 of 24. Remove the components in the order indicated in the illustration and table.





7. Illustration 7 of 24. Remove the components in the order indicated in the illustration and table.





8. Illustration 8 of 24. Remove the components in the order indicated in the illustration and table.





9. Illustration 9 of 24. Remove the components in the order indicated in the illustration and table.











10. Illustration 10 of 24. Remove the components in the order indicated in the illustration and table.





11. Illustration 11 of 24. Remove the components in the order indicated in the illustration and table.





12. Illustration 12 of 24. Remove the components in the order indicated in the illustration and table.





13. Illustration 13 of 24. Remove the components in the order indicated in the illustration and table.











14. Illustration 14 of 24. Remove the components in the order indicated in the illustration and table.





15. Illustration 15 of 24. Remove the components in the order indicated in the illustration and table.





16. Illustration 16 of 24. Remove the components in the order indicated in the illustration and table.





17. Illustration 17 of 24. Remove the components in the order indicated in the illustration and table.





18. Illustration 18 of 24. Remove the components in the order indicated in the illustration and table.





19. Illustration 19 of 24. Remove the components in the order indicated in the illustration and table.












20. Illustration 20 of 24. Remove the components in the order indicated in the illustration and table.





21. Illustration 21 of 24. Remove the components in the order indicated in the illustration and table.











22. Illustration 22 of 24. Remove the components in the order indicated in the illustration and table.











23. Illustration 23 of 24. Remove the components in the order indicated in the illustration and table.





24. Illustration 24 of 24. Remove the components in the order indicated in the illustration and table.

Items 1 and 2: Flexplate Disassembly Note





1. Remove the flexplate.
^ Remove the bolts in the sequence shown.
^ Remove the flexplate.

Item 3: Crankshaft Rear Seal Disassembly Note





1. Using the special tools, remove the rear main seal.
^ Discard the seal.
2. Install the engine on a suitable engine stand.

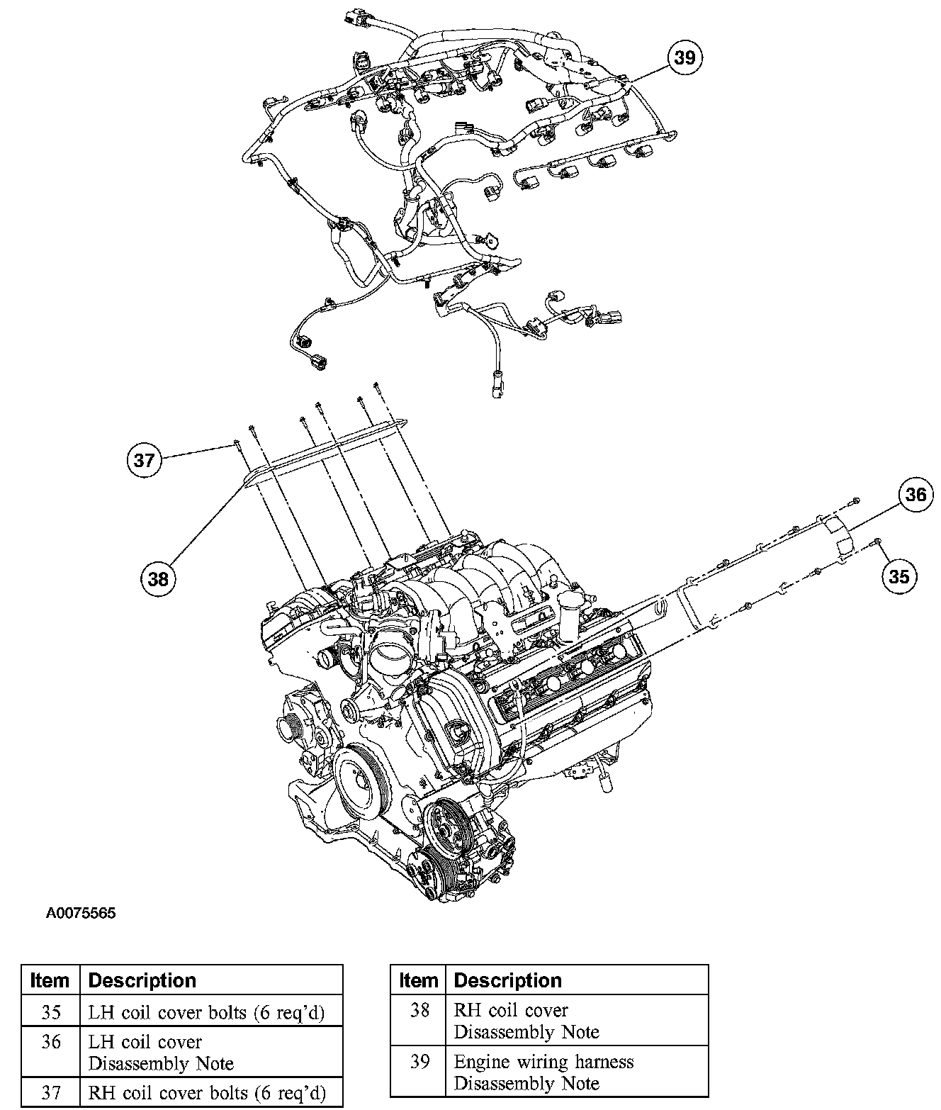
Items 36 and 38: RH and LH Coil Cover Disassembly Note





1. Remove all silicone sealer and residue from the coil covers.





2. Remove all silicone sealer and residue from the valve cover surface and ignition coil wiring harness.

Item 39: Engine Wiring Harness Disassembly Note





1. NOTE: LH is shown, RH is similar.

Disconnect the engine wiring harness retainers from the engine appearance cover support bracket.





2. NOTE: LH is shown, RH is similar.

Disconnect the fuel injector and radio interference capacitor electrical connectors





3. Remove the nuts and the engine wiring harness retainer and position aside.





4. NOTE: RH is shown, LH is similar.

Disconnect the variable cam timing (VCT) sensor electrical connector.





5. Disconnect the wiring harness retainers from the LH valve cover.





6. Disconnect the three wiring harness retainers from the RH valve cover.





7. Disconnect the power steering pressure (PSP) switch.





8. Disconnect the A/C electrical connector and the retaining clip.





9. Disconnect the two pin-type retainers.





10. Remove the wiring harness from the front cover.





11. Remove the wiring harness from the front cover.





12. Disconnect the crankshaft position (CKP) sensor electrical connector.





13. Remove the heated oxygen sensor (H02S) connectors from the brackets.
14. Remove the engine wiring harness from the engine.