Operation CHARM: Car repair manuals for everyone.
Manuals through 2025 now available!

Our trusted friends have launched a new website named LEMON, which has newer manuals. It also contains all the CHARM manuals.

LEMON is the spiritual successor to CHARM, I recommend you try it!

Link: lemon-manuals.la or lemon-manuals.org.ua

(Some people have issue connecting. LEMON is investigating. For now, use Firefox or change your DNS server)

Or, hide this message: temporarily or permanently

Brake Bleeding: Service and Repair

Brake System Bleeding

Special Tools And Equipment:





Special Tool(s)

Manual

WARNING: Use of any other than approved DOT 3 or DOT 4 brake fluid will cause permanent damage to brake components and will render the brakes inoperative. Failure to follow these instructions may result in personal injury.

WARNING: Brake fluid contains polyglycol ethers and polyglycols. Avoid contact with eyes. Wash hands thoroughly after handling. If brake fluid contacts eyes, flush eyes with running water for 15 minutes. Get medical attention if irritation persists. If taken internally, drink water and induce vomiting. Get medical attention immediately.

CAUTION: Brake fluid is harmful to painted and plastic surfaces. If brake fluid is spilled onto a painted or plastic surface, immediately wash it with water.

CAUTION: Do not allow the brake master cylinder reservoir to run dry during the bleeding operation. Keep the brake master cylinder reservoir filled with the specified brake fluid. Never reuse the brake fluid that has been drained from the hydraulic system.

NOTE: When any part of the hydraulic system has been disconnected for repair or installation of new components, air can get into the system and cause spongy brake pedal action. This requires bleeding of the hydraulic system after it has been correctly connected. The hydraulic system can be bled manually or with pressure bleeding equipment.





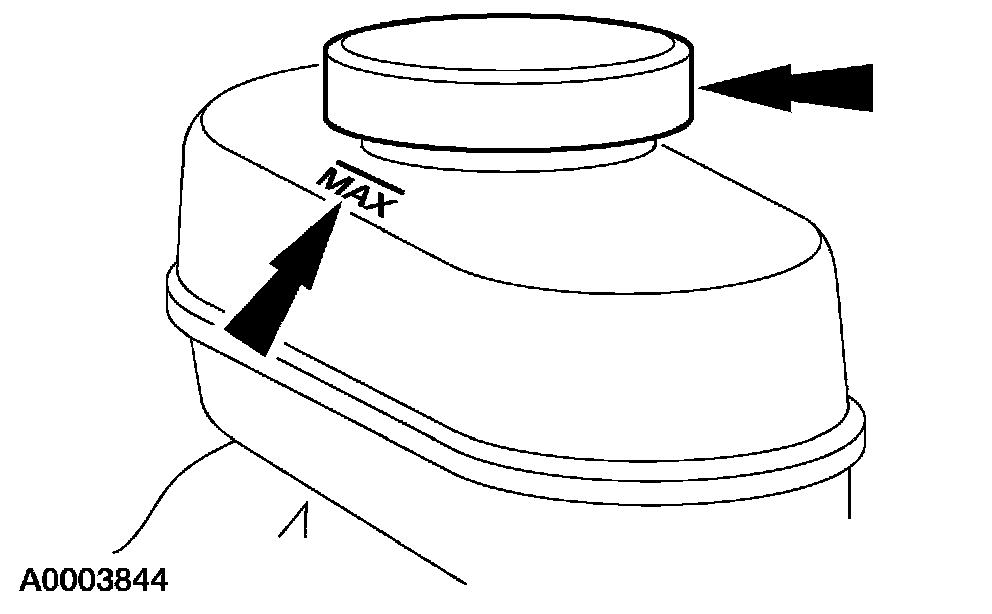
1. Clean all dirt from and remove the brake master cylinder filler cap and fill the brake master cylinder reservoir with the specified brake fluid.





2. Place a box end wrench on the RH rear bleeder screw. Attach a rubber drain tube to the RH rear bleeder screw and submerge the free end of the tube in a container partially filled with clean brake fluid.
3. Have an assistant hold firm pressure on the brake pedal.
4. Loosen the RH rear bleeder screw until a stream of brake fluid comes out. While the assistant maintains pressure on the brake pedal, tighten the RH rear bleeder screw.
^ Repeat until clear, bubble-free fluid comes out.
^ Refill the brake master cylinder reservoir as necessary.





5. Tighten the RH rear bleeder screw.
6. Repeat Steps 3, 4, 5 and 6 for the LH rear bleeder screw.





7. Place a box end wrench on the RH front disc brake caliper bleeder screw. Attach a rubber drain tube to the RH front disc brake caliper bleeder screw, and submerge the free end of the tube in a container partially filled with clean brake fluid.
8. Have an assistant hold firm pressure on the brake pedal.
9. Loosen the RH front disc brake caliper bleeder screw until a stream of brake fluid comes out. While the assistant maintains pressure on the brake pedal, tighten the RH front disc brake caliper bleeder screw.
^ Repeat until clear, bubble-free fluid comes out.
^ Refill the brake master cylinder reservoir as necessary.





10. Tighten the RH front disc brake caliper bleeder screw.
11. Repeat Steps 8, 9, 10 and 11 for the LH front disc brake caliper bleeder screw.


Pressure

WARNING: Use of any other than approved DOT 3 or DOT 4 brake fluid will cause permanent damage to brake components and will render the brakes inoperative.

WARNING: Brake fluid contains polyglycol ethers and polyglycols. Avoid contact with eyes. Wash hands thoroughly after handling. If brake fluid contacts eyes, flush eyes with running water for 15 minutes. Get medical attention if irritation persists. If taken internally, drink water and induce vomiting. Get medical attention immediately.

CAUTION: Brake fluid is harmful to painted and plastic surfaces. If brake fluid is spilled onto a painted or plastic surface, immediately wash it with water.

CAUTION: Do not allow the master cylinder to run dry during the bleeding operation. Keep the master cylinder reservoir filled with the specified brake fluid. Never reuse the brake fluid that has been drained from the hydraulic system.





1. Clean all dirt from and remove the brake master cylinder filler cap. Fill the brake master cylinder reservoir with the specified brake fluid.

2. NOTE: Master cylinder pressure bleeder adapter tools are available from various manufacturers of pressure bleeding equipment. Follow the instructions of the manufacturer when installing the adapter.

Install the bleeder adapter to the brake master cylinder reservoir, and attach the bleeder tank hose to the fitting on the adapter.





3. NOTE: Bleed the longest line first. Make sure the bleeder tank contains enough specified brake fluid to complete the bleeding operation.

Place a box end wrench on the RH rear bleeder screw. Attach a rubber drain tube to the RH rear bleeder screw, and submerge the free end of the tube in a container partially filled with clean brake fluid.
4. Open the valve on the bleeder tank.





5. Loosen the RH rear bleeder screw. Leave open until clear, bubble-free brake fluid flows, then tighten the RH rear bleeder screw and remove the rubber hose.
6. Continue bleeding the rear of the system, going in order from the LH rear bleeder screw to the RH front disc brake caliper bleeder screw ending with the LH front disc brake caliper bleeder screw.





7. Tighten the front bleeder screw and remove the hose.
8. Close the bleeder tank valve. Remove the tank hose from the adapter, and remove the adapter.