Operation CHARM: Car repair manuals for everyone.
Manuals through 2025 now available!

Our trusted friends have launched a new website named LEMON, which has newer manuals. It also contains all the CHARM manuals.

LEMON is the spiritual successor to CHARM, I recommend you try it!

Link: lemon-manuals.la or lemon-manuals.org.ua

(Some people have issue connecting. LEMON is investigating. For now, use Firefox or change your DNS server)

Or, hide this message: temporarily or permanently

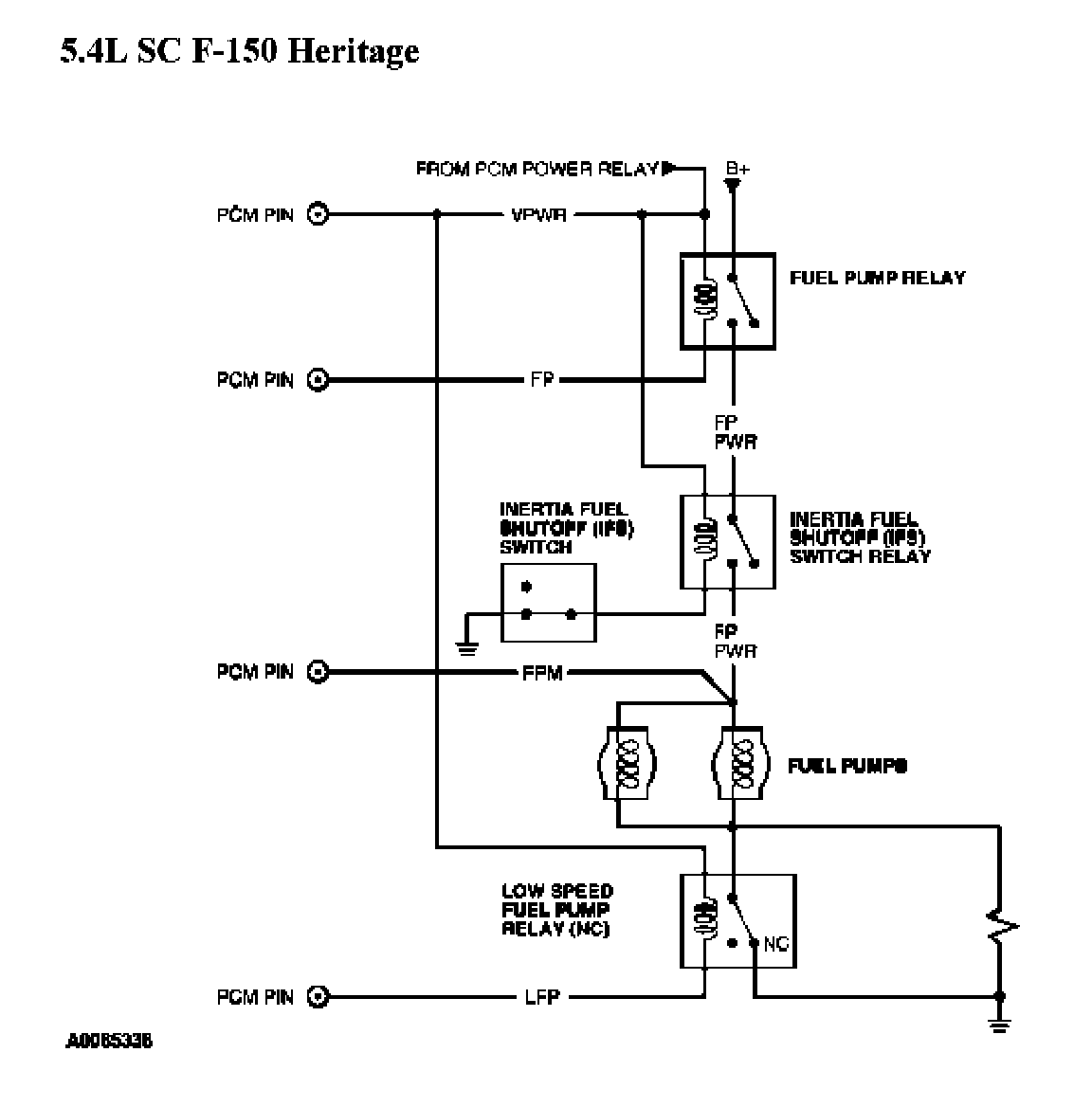
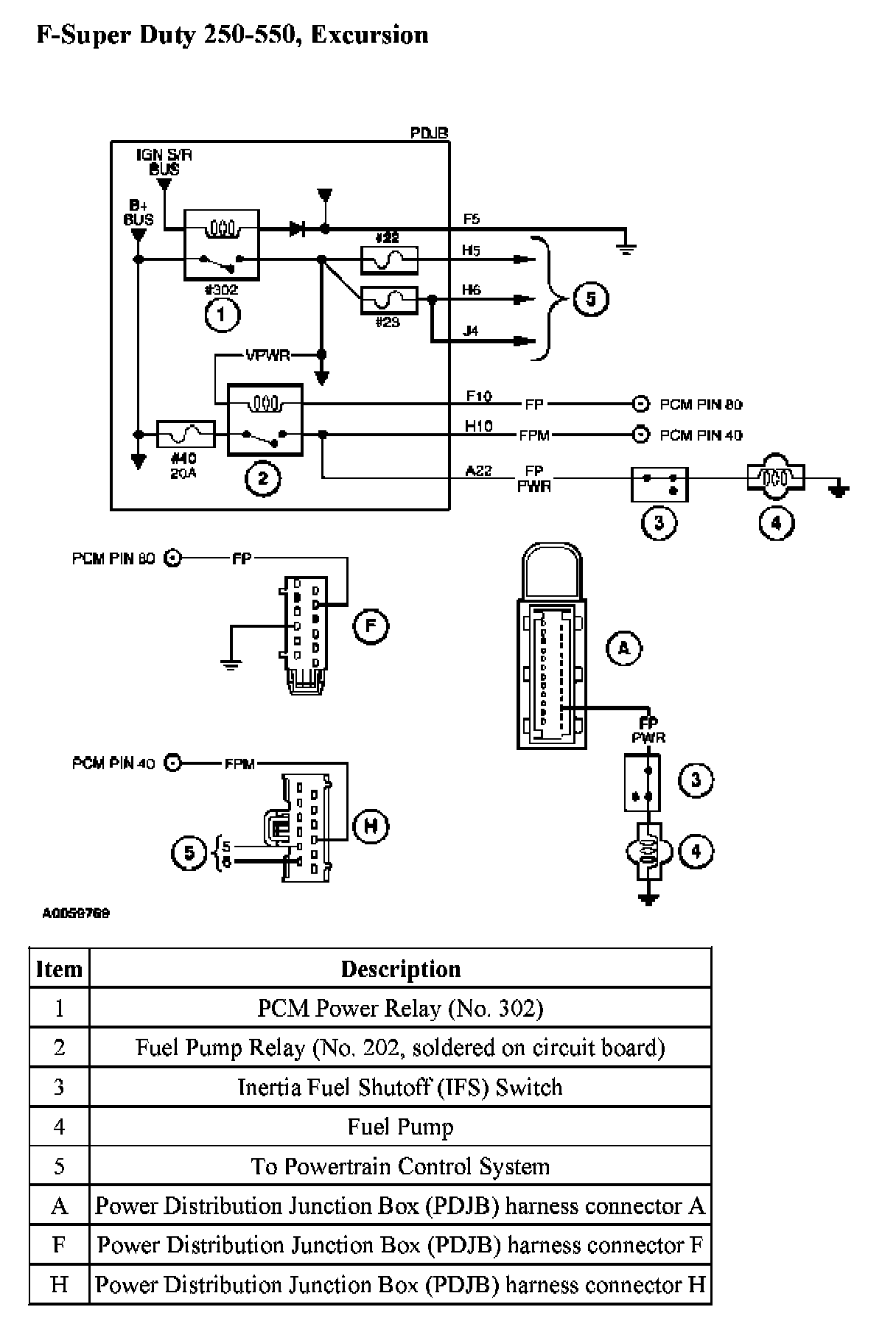
Tests KA: Fuel Pump Relay



PINPOINT TEST KA: FUEL PUMP RELAY

KA Introduction 1 Of 8:





KA Introduction 2 Of 8:





KA Introduction 3 Of 8:





KA Introduction 4 Of 8:





KA Introduction 5 Of 8:





KA Introduction 6 Of 8:





KA Introduction 7 Of 8:





KA Introduction 8 Of 8:





KA1 - KA2:





KA3 - KA5:





KA6 - KA7:





KA8 - KA10:





KA11 - KA13:





KA14 - KA16:





KA17 - KA19:





KA20 - KA21:





KA22 - KA25:





KA26 - KA27:





KA28 - KA30:





KA31 - KA33:





KA34 - KA35:





KA36 - KA37:





KA38:





KA39:





KA40 - KA41:





KA42 - KA44:





KA45 - KA46:





KA47 - KA48:





KA49 - KA51:





KA52 - KA53:





KA54:





KA55:





KA56 - KA57:





KA58 - KA60:





KA61 - KA63:





KA64 - KA66:





KA67 - KA69:





KA70 - KA72:





KA73 - KA75:





KA76 - KA78:





KA79 - KA81:





KA82 - KA83:





KA84:





KA85 - KA86:





KA87: