Operation CHARM: Car repair manuals for everyone.
Manuals through 2025 now available!

Our trusted friends have launched a new website named LEMON, which has newer manuals. It also contains all the CHARM manuals.

LEMON is the spiritual successor to CHARM, I recommend you try it!

Link: lemon-manuals.la or lemon-manuals.org.ua

(Some people have issue connecting. LEMON is investigating. For now, use Firefox or change your DNS server)

Or, hide this message: temporarily or permanently

Automatic Transmission/Transaxle: Adjustments

Transmission Range (TR) Sensor Adjustment

Special Tools And Equipment:





Special Tool(s)

Adjust
1. With the vehicle in NEUTRAL, position it on a hoist.





2. Loosen the four converter-to-manifold nuts.





3. CAUTION: Index-mark (color paint) the bolts, washers, nuts and the flex coupling to the transmission flange to make sure they are installed in the same location. Components that are not assembled in their original locations can cause driveshaft imbalance.

CAUTION: Do not remove the bolts retaining the flex coupling to the driveshaft.

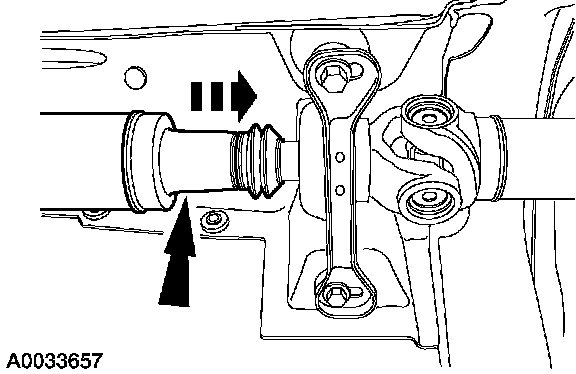
Index-mark the front driveshaft pinion flange. Remove the three nuts, washers and bolts.





4. Slide the front shaft assembly rearward and support.

5. WARNING: Secure the transmission to the transmission jack with a safety chain. Failure to follow these instructions may result in personal injury.

Using a suitable transmission jack, support the transmission.


6. Remove the transmission mount and lower the transmission enough to gain access to the digital Transmission Range (TR) sensor.





7. Disconnect the shift cable from the manual control lever.





8. Loosen the screws.





9. CAUTION: The digital TR sensor must fit flush against the case. Tightening one screw before tightening the other may cause the sensor to bind or become damaged.

Using the special tool, align the digital TR sensor and tighten the screws in an alternating sequence.





10. Install the shift cable to the manual control lever.





11. Raise the transmission up and install the rear transmission mount bolts. Remove the transmission jack.
12. Verify that the shift cable is adjusted correctly.





13. Install the driveshaft by aligning the index-marks made during removal for correct driveshaft balance.





14. CAUTION: Install the bolts, washers, and nuts in their original position or driveshaft imbalance can occur. Install the driveshaft flex coupling bolts with the head of the bolt seated against the flange, and the nuts seated against the flex coupling.

Install the three nuts, washers and bolts.





15. Tighten the four converter-to-manifold nuts.