Operation CHARM: Car repair manuals for everyone.
Manuals through 2025 now available!

Our trusted friends have launched a new website named LEMON, which has newer manuals. It also contains all the CHARM manuals.

LEMON is the spiritual successor to CHARM, I recommend you try it!

Link: lemon-manuals.la or lemon-manuals.org.ua

(Some people have issue connecting. LEMON is investigating. For now, use Firefox or change your DNS server)

Or, hide this message: temporarily or permanently

Extension Housing: Service and Repair

Extension Housing Seal

Special Tools And Equipment Part 1 Of 2:




Special Tools And Equipment Part 2 Of 2:





Special Tool(s)

Removal and Installation
1. With the vehicle in NEUTRAL, position it on a hoist.
2. Using a suitable transmission jack, support the transmission.

Part 1:





3. Remove the parts in the order indicated in the following illustration and table.
4. To install, reverse the removal procedure.
5. Check the transmission fluid level. .

Item 1: Output Shaft Flange Coupler Bolts Removal Note





1. CAUTION: Index-mark (color paint) the bolts, washers, nuts and the flex coupling to the transmission flange to make sure they are installed in the same location. Components that are not assembled in their original location can cause driveshaft imbalance.

CAUTION: Do not remove the bolts retaining the flex coupling to the driveshaft.

Index-mark the front driveshaft pinion flange. Remove the three nuts, washers and bolts.

Item 2: Driveshaft Removal Note





1. Slide the front shaft assembly rearward and support.

Item 3: Transmission Support Screws Removal Note





1. Remove the transmission mount and lower the transmission enough to gain access to the extension housing seal.

Item 5: Output Shaft Flange Removal Note





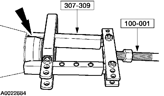
1. Using the special tool, remove the output shaft flange.

Item 6: Extension Housing Seal Removal Note





1. Using the special tools, remove the extension housing seal.

Item 6: Extension Housing Seal Installation Note

NOTE: Make sure the extension housing seal is correctly installed onto the special tool and the garter spring is in the correct position.





1. Using the special tool, install the extension housing seal.

Item 5: Output Shaft Flange Installation Note





1. Using the special tool, install the output shaft flange.

Item 3: Transmission Support Screws Installation Note





1. Install the rear support screws.

Item 1: Output Shaft Flange Coupler Bolts Installation Note





1. CAUTION: Align the index marks or a driveshaft imbalance can occur.

Align the index marks made during removal on the companion flange, and position the driveshaft in place.





2. CAUTION: Install the bolts, washers, and nuts in their original position or drive shaft imbalance can occur. Install the driveshaft flex coupling bolts with the head of the bolt seated against the flange, and the nuts seated against the flex coupling.

Install the three nuts, washers and bolts.