Operation CHARM: Car repair manuals for everyone.
Manuals through 2025 now available!

Our trusted friends have launched a new website named LEMON, which has newer manuals. It also contains all the CHARM manuals.

LEMON is the spiritual successor to CHARM, I recommend you try it!

Link: lemon-manuals.la or lemon-manuals.org.ua

(Some people have issue connecting. LEMON is investigating. For now, use Firefox or change your DNS server)

Or, hide this message: temporarily or permanently

Valve Body: Service and Repair

Main Control Valve Body

Special Tools And Equipment:





Special Tool(s)

Material:





Material

Removal and Installation

CAUTION: Lubricate the fluid filter seals with clean automatic transmission fluid or they may be damaged.

NOTE: Make sure that the fluid filter seals are correctly seated on the filter.

NOTE: Clean the area around the solenoid body connector contamination.

NOTE: The transmission fluid pan gasket is reusable. Clean and inspect for damage. If not damaged, the gasket should be reused.

1. With the vehicle in NEUTRAL, position it on a hoist.

Part 1 Of 2:




Part 2 Of 2:





2. Remove the parts in the order indicated in the following illustration and table.
3. To install, reverse the removal procedure
4. Fill the transmission to the correct level.

Item 2: Solenoid Body Harness Electrical Connector Removal Note





1. NOTE: Clean the area around the solenoid body connector to prevent contamination.

Disconnect the solenoid body harness electrical connector.

Item 3: Heated Oxygen Sensor (H02S) Connector Retainer Removal Note





1. Disconnect the H02S connector and remove the sensor wire retaining clip from the right side of the transmission pan rail.





2. Remove the H02S connector from the front of the transmission pan rail.

Item 20: Main Control Valve Body Installation Note





1. Install the special tools into the transmission case.

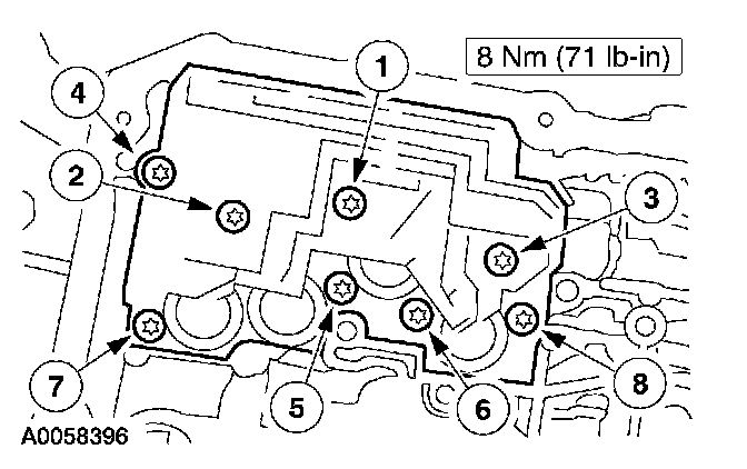
Items 17, 18 and 19: Main Control Valve Body Screws Installation Note





1. Using the special tools, install the main control valve body and loosely install the screws.
1 Install the short screw.
2 Install the screw with the larger head.
3 Install the remaining screws.





2. Remove the special tools, and loosely install the screw.





3. Tighten the screws in the sequence shown.

Item 13: Reverse Servo Screws Installation Note





1. Install the reverse servo. Tighten the screws in the sequence shown.

Item 12: Solenoid Body O-Ring Seals Installation Note





1. Install new O-ring seals on the solenoid body connector. Lubricate the O-ring seals with clean automatic transmission fluid.

Items 11, 10 and 9: Solenoid Body Screws and Solenoid Body Installation Note





1. CAUTION: Inspect the transmission case bore to make sure it is free of foreign material and not damaged. If it is damaged, transmission leak may occur.

Install the solenoid body. Tighten the screws in sequence shown.

Item 8: Transmission Fluid Pan Filter Installation Note





1. CAUTION: Lubricate the fluid filter seals with clean automatic transmission fluid or they may be damaged.

NOTE: Make sure that the fluid filter seals are correctly seated on the filter.

Lubricate the seals and install the transmission fluid filter.

Item 5: Transmission Fluid Pan Installation Note





1. Install the transmission fluid pan and gasket and loosely install the screws.

Item 4: Transmission Fluid Pan Screws Installation Note





1. Tighten the screws in a crisscross sequence.

Item 3: H02S Connector Retainer Installation Note





1. Install the H02S connector to the front of the transmission pan rail.





2. Connect the H02S connector and install the sensor wire retaining clip to the right side of the transmission pan rail.

Item 2: Solenoid Body Harness Electrical Connector Installation Note





1. CAUTION: Damage will occur to the solenoid body assembly if the screw is tightened above specification.

NOTE: Always install new O-ring seals on the vehicle harness connector.

NOTE: Clean the area around the connector to prevent contamination of the solenoid body connector.

NOTE: Use petroleum jelly to lubricate the O-ring seals to aid in the installation process.

Install and lubricate new O-ring seals on the transmission connector and connect the connector.