Cylinder Head Assembly
Head Bolt Torque and Sequence
Stage 1 40 Nm (30 ft. lbs.)
Stage 2 90°
Stage 3 90°
New Head Bolts Must Be Used
Cylinder head flatness must be within 0.0254 mm (0.001 inch) across a 38.1 mm (1.5 inch) square area.
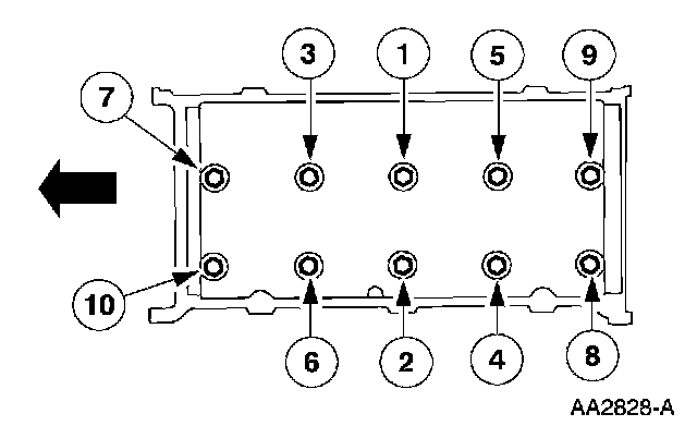
Intake Manifold Torque and Sequence
Tighten the retaining bolts in two stages, and then an additional 90° in the sequence shown.
^ Tighten to 10 Nm (89 inch lbs.)
^ Tighten an additional 90°
Camshaft Bearing Cap Torque and Sequence 10 Nm (89 inch lbs.)
RH:
Exhaust Manifold Torque and Sequence 25 Nm (18 ft. lbs.)