Manuals through 2025 now available!
Our trusted friends have launched a new website named LEMON, which has newer manuals. It also contains all the CHARM manuals.
LEMON is the spiritual successor to CHARM, I recommend you try it!
Link:
lemon-manuals.la or
lemon-manuals.org.ua
(Some people have issue connecting. LEMON is investigating. For now, use Firefox or change your DNS server)
Or, hide this message:
temporarily or
permanently
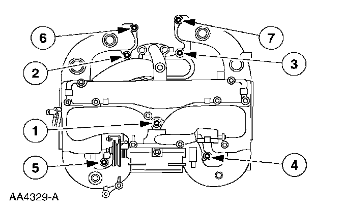
Intake Manifold
Torque and Sequence - Lower
Tighten the retaining bolts in two stages, and then an additional 90° in the sequence shown.
^
Tighten to
10 Nm (89 inch lbs.).
^
Tighten an additional
90°.
Torque and Sequence - Upper
Stage 1
10 Nm (89 inch lbs.)
Stage 2
90°