Operation CHARM: Car repair manuals for everyone.
Manuals through 2025 now available!

Our trusted friends have launched a new website named LEMON, which has newer manuals. It also contains all the CHARM manuals.

LEMON is the spiritual successor to CHARM, I recommend you try it!

Link: lemon-manuals.la or lemon-manuals.org.ua

(Some people have issue connecting. LEMON is investigating. For now, use Firefox or change your DNS server)

Or, hide this message: temporarily or permanently

Front Fender: Service and Repair

FENDER

Removal

NOTE: LH fender shown, RH fender is similar.

1. Remove the cowl panel grille.







2. NOTE: The pin-type retainers are a one time use item and must be discarded after removal.

Remove the pin-type retainer and position the hood insulator aside.







3. Disconnect the electrical connector.
- Release the wiring harness locators.







4. NOTE:
- Support the hood with a suitable hood support.
- Two technicians are needed to carry out this step.

Remove the hood.
1 Mark both hinge locations.
2 Remove the four bolts.

5. Remove the front bumper cover.
6. Remove the fender splash shield.







7. Position the wiring trough and the hood release cable aside.
1 Remove the screws.
2 Slide the wiring trough forward to release the trough locator from the fender.







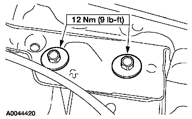
8. Remove the ground wire bolts.







9. Remove the pin-type retainer and loosen the rocker panel moulding.







10. Remove the rear fender bolts.
- If equipped, note the spacer locations.







11. Remove the rear fender bolt.







12. Remove the upper fender bolts.







13. Remove the fender bolts







14. Remove the fender brace bolt.







15. Remove the fender bolts.







16. NOTE: An assistant is needed to support the fender when removing this bolt on the RH fender.

Remove the rear fender bolt and the fender.

Installation
1. Position the fender.







2. NOTE: An assistant is needed to support the fender when installing this bolt on the RH fender.

Install the rear fender bolt.







3. Install the upper fender bolts.







4. Install the rear fender bolt.







5. Install the rear fender bolts.
- If equipped, install the spacers.

6. CAUTION: The vehicle must be at the correct ride height when the front of the fender is attached. Failure to lower the vehicle will cause a misalignment between the radiator support and the fender.

Install the wheel and tire assembly.







7. Install the fender bolts.







8. Install the fender bolts.







9. Install the fender brace bolt.







10. Position the rocker panel moulding and install the pin-type retainers.







11. Install the ground wire bolts.







12. Position the wiring harness trough and hood latch release cable.
1 Position the wiring harness trough locator into the fender.
2 Install the screws.

13. Install the front bumper cover.
14. Install the fender splash shield.







15. NOTE: Two technicians are needed to carry out this step.

Install the hood.
1 Line up the hood with the marks on the hinges.
2 Install the bolts.







16. Connect the electrical connector.
- Install the wiring harness locators.







17. Position the hood insulator and install new pin-type retainers.
18. Install the cowl panel grille.