Operation CHARM: Car repair manuals for everyone.
Manuals through 2025 now available!

Our trusted friends have launched a new website named LEMON, which has newer manuals. It also contains all the CHARM manuals.

LEMON is the spiritual successor to CHARM, I recommend you try it!

Link: lemon-manuals.la or lemon-manuals.org.ua

(Some people have issue connecting. LEMON is investigating. For now, use Firefox or change your DNS server)

Or, hide this message: temporarily or permanently

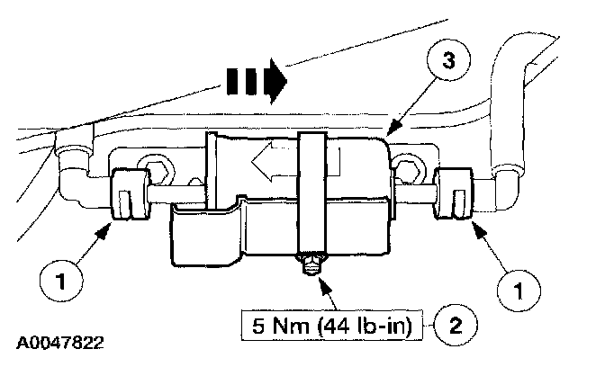
Fuel Filter: Service and Repair

FUEL FILTER

REMOVAL

WARNING:
- Do not smoke or carry lighted tobacco or open flame of any type when working on or near any fuel related component. Highly flammable mixtures are always present and may be ignited, resulting in possible personal injury.
- Fuel in the fuel system remains under high pressure even when the engine is not running. Before servicing or disconnecting any of the fuel system components, the fuel system pressure must be relieved to prevent accidental spraying of fuel, causing personal injury or a fire hazard.
- The electrical power to the air suspension system must be shut off prior to hoisting, jacking or towing an air suspension vehicle. This can be accomplished by turning the air suspension switch located in the luggage compartment on the LH side to the off position. Failure to do so may result in unexpected inflation or deflation of the air springs which may result in shifting of the vehicle during these operations.


1. Disconnect the battery ground cable.
2. Relieve the system pressure.
3. Raise the vehicle.







4. NOTE: Make sure the rubber boot of the forward 90-degree fuel tube is still glued in place.

Remove the fuel filter.
1 Disconnect the push-release fuel line fittings.
2 Loosen the clamp.
3 Remove the fuel filter.

INSTALLATION
1. To install, reverse the removal procedure.