Operation CHARM: Car repair manuals for everyone.
Manuals through 2025 now available!

Our trusted friends have launched a new website named LEMON, which has newer manuals. It also contains all the CHARM manuals.

LEMON is the spiritual successor to CHARM, I recommend you try it!

Link: lemon-manuals.la or lemon-manuals.org.ua

(Some people have issue connecting. LEMON is investigating. For now, use Firefox or change your DNS server)

Or, hide this message: temporarily or permanently

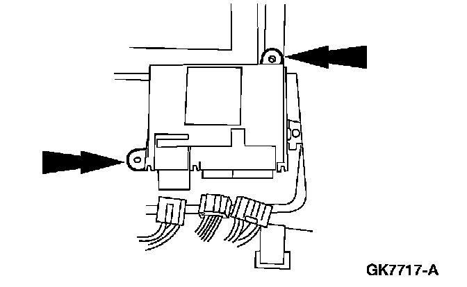
Driver Door (DDM) Module

MODULE - DRIVER DOOR (DDM)

REMOVAL

1. CAUTION: Prior to removal of the module, it is necessary to upload the module configuration information to a diagnostic tool. This information needs to be downloaded into the new module once installed.

Disconnect the battery ground cable.

2. Remove the driver door trim panel.







3. Disconnect the electrical connectors from the DDM.







4. Remove the DDM.

INSTALLATION
1. To install, reverse the removal procedure.