Operation CHARM: Car repair manuals for everyone.
Manuals through 2025 now available!

Our trusted friends have launched a new website named LEMON, which has newer manuals. It also contains all the CHARM manuals.

LEMON is the spiritual successor to CHARM, I recommend you try it!

Link: lemon-manuals.la or lemon-manuals.org.ua

(Some people have issue connecting. LEMON is investigating. For now, use Firefox or change your DNS server)

Or, hide this message: temporarily or permanently

System Specifications

Cylinder bore diameter 90.213-90.226 (grade 2)
Cylinder bore maximum taper 0.013 mm
Cylinder bore maximum out-of-round 0.015 mm
Piston-to-cylinder bore clearance @ 43 mm from top -0.005- (+) 0.025 mm
Main bearing journal diameter 67.483-67.503 mm (2.6568-2.6576 inch)
Main bearing journal maximum taper 0.004 mm (0.0002 inch)
Main bearing journal maximum-out-of-round 0.0075 mm (0.0003 inch) between cross sections
Main bearing journal-to-cylinder block clearance 0.066-0.024 mm (0.0259 0.0009 inch)

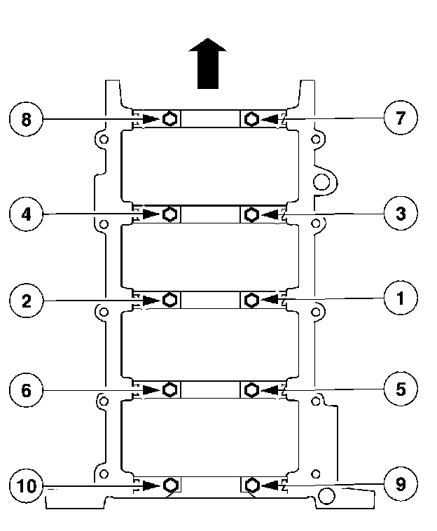
Main Bearing Cap bolts





Horizontal bolts.
Stage 1 10 Nm (89 inch lbs.)
Stage 2 21 Nm (15 ft. lbs.)





Vertical bolts.
Stage 1 40 Nm (30 ft. lbs.)
Stage 2 an additional 90 degrees





Connecting Rod bolts.
Stage 1 42 Nm (31 ft. lbs.)
Stage 2 additional 90 - 120 degrees
Connecting rod side clearance (standard) 0.015-0.45 mm (0.0006-0.0177 inch)
Connecting rod side clearance (maximum) 0.50 mm (0.0197 inch)
Connecting rod bearing-to-crankshaft clearance 0.06-0.02 mm (0.0026-0.0010 inch)
Piston diameter
Grade 1 90.191-90.206 mm
Grade 2 90.203-90.220 mm
Grade 3 90.217-90.232 mm
Piston-to-cylinder bore clearance @ 43 mm from top -0.005-(+)0.025 mm
Piston ring end gap (top) 0.15-0.30 mm (0.0059 0.0118 inch)
Piston ring end gap (intermediate) 0.15-0.30 mm (0.0059-0.0118 inch)
Piston ring end gap (oil control) 0.15-0.30 mm (0.0059-0.0118 inch)
Piston ring groove width (top) 1.520-1.540 mm (0.0598-0.0606 inch)
Piston ring groove width (intermediate) 1.520-1.540 mm (0.0598-0.0606 inch)
Piston ring groove width (oil control) 3.03-3.055 mm 0.1193-0.1203 inch)
Piston ring width (top) 1.5 mm
Piston ring width (intermediate) 1.5 mm
Piston ring-to-groove clearance (top) 0.020-0.060 mm (0.0008-0.0024 inch)
Piston ring-to-groove clearance (intermediate) 0.020-0.060 mm (0.0008-0.0023 inch)
Piston ring-to-groove clearance (oil control) 0.030-0.070 mm (0.0012-0.0028 inch)
Crankshaft Pulley bolt.
Step 1 90 Nm (66 ft. lbs.)
Step 2 Loosen the bolt
Step 3 47 - 53 Nm (34 - 39 ft. lbs.)
Step 4 additional 85 - 90 degrees