Operation CHARM: Car repair manuals for everyone.
Manuals through 2025 now available!

Our trusted friends have launched a new website named LEMON, which has newer manuals. It also contains all the CHARM manuals.

LEMON is the spiritual successor to CHARM, I recommend you try it!

Link: lemon-manuals.la or lemon-manuals.org.ua

(Some people have issue connecting. LEMON is investigating. For now, use Firefox or change your DNS server)

Or, hide this message: temporarily or permanently

Cylinder Head Assembly






CAUTION: The cylinder head bolts must be discarded and new bolts installed. They are tighten-to-yield designed and cannot be reused.

NOTE: The new cylinder head bolts must be lightly oiled with a rag, and allowed to drain for a few minutes prior to installation.

Cylinder Head bolts.
Stage 1 40 Nm (30 ft. lbs.)
Stage 2 additional 90 degrees (1/4 turn)
Stage 3 Loosen the bolts a minimum of one full turn (360 degrees)
Stage 4 40 Nm (30 ft. lbs.)
Stage 5 an additional 90 degrees (1/4 turn)
Stage 6 an additional 90 degrees (1/4 turn)





Intake Manifold bolts





Camshaft Bearing Cap bolts

RH:





LH:





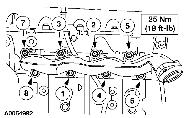
Exhaust Manifold bolts





Camshaft Sprocket 120 Nm (89 lb-ft)