Torque Specifications
TORQUE SPECIFICATIONSCamshaft Bearing Cap Bolts 10 Nm (89 inch lbs.)
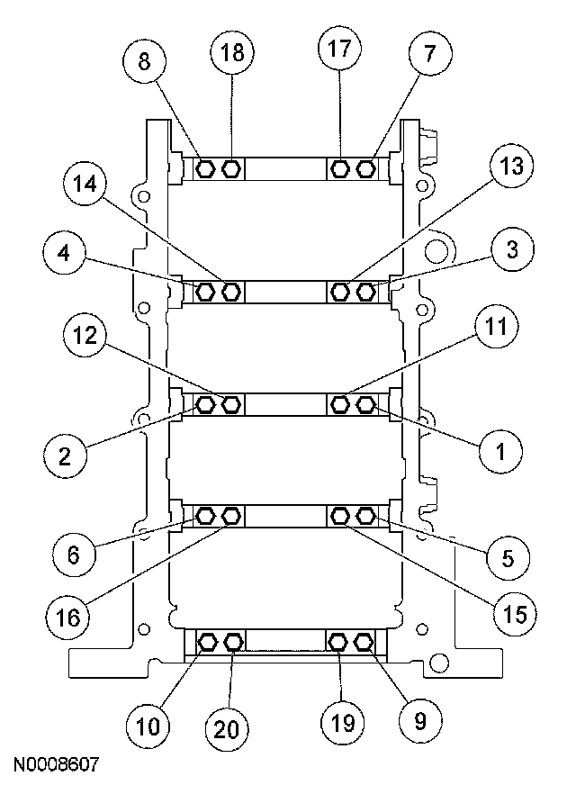
Crankshaft Main Bearing Cap Torque.
Bolts 1-20
Stage 1 10 Nm (89 inch lbs.)
Stage 2 25 Nm (18 ft. lbs.)
Stage 3 40 Nm (30 ft. lbs.)
Stage 4 Tighten an additional 90 degrees.
Cross-Mounted Bolts
Stage 1 40 Nm (30 ft. lbs.)
Stage 2 Tighten an additional 90 degrees.
Crankshaft Pulley Bolt
Stage 1 90 Nm (66 ft. lbs.)
Stage 2 Loosen one full turn.
Stage 3 50 Nm (37 ft. lbs.)
Stage 4 Tighten an additional 90 degrees, not exceeding 200 Nm (148 ft. lbs.)