Operation CHARM: Car repair manuals for everyone.
Manuals through 2025 now available!

Our trusted friends have launched a new website named LEMON, which has newer manuals. It also contains all the CHARM manuals.

LEMON is the spiritual successor to CHARM, I recommend you try it!

Link: lemon-manuals.la or lemon-manuals.org.ua

(Some people have issue connecting. LEMON is investigating. For now, use Firefox or change your DNS server)

Or, hide this message: temporarily or permanently

System Specifications

TORQUE SPECIFICATIONS

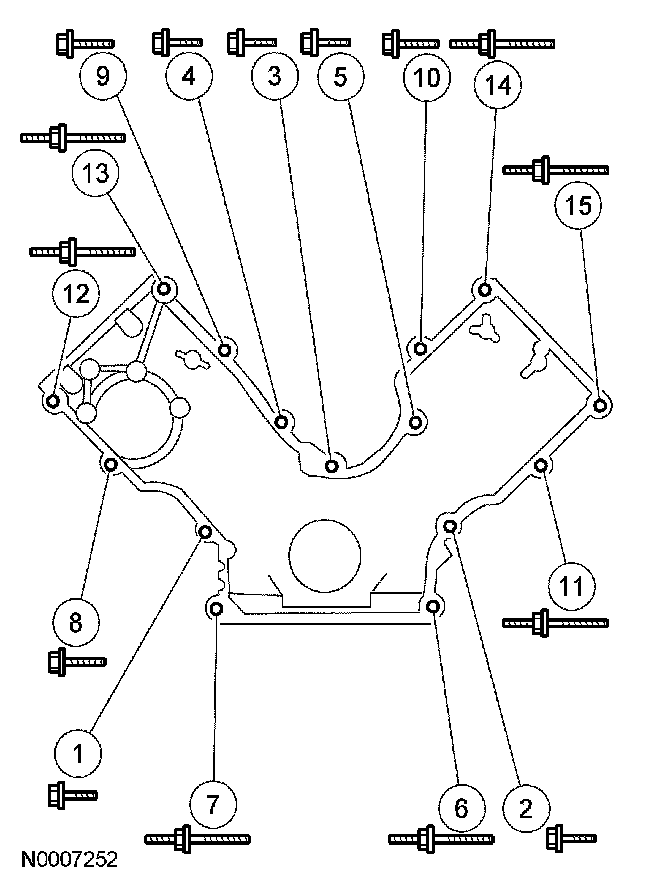
Timing cover





Front Cover 25 Nm (18 ft. lbs.)





Oil pan-to-engine Front Cover Bolts
Stage 1 2 Nm (18 inch lbs.)
Stage 2 20 Nm (15 ft. lbs.)
Stage 3 Tighten an additional 60 degrees.

Crankshaft Pulley Bolt
Stage 1 90 Nm (66 ft. lbs.)
Stage 2 Loosen one full turn.
Stage 3 50 Nm (37 ft. lbs.)
Stage 4 Tighten an additional 90 degrees, not exceeding 200 Nm (148 ft. lbs.)

Timing chain tensioner - bolts - primary 25 Nm (18 ft. lbs.)
Timing chain tensioner bolts - secondary 10 Nm (89 inch lbs.)