Operation CHARM: Car repair manuals for everyone.
Manuals through 2025 now available!

Our trusted friends have launched a new website named LEMON, which has newer manuals. It also contains all the CHARM manuals.

LEMON is the spiritual successor to CHARM, I recommend you try it!

Link: lemon-manuals.la or lemon-manuals.org.ua

(Some people have issue connecting. LEMON is investigating. For now, use Firefox or change your DNS server)

Or, hide this message: temporarily or permanently

Part 2





55. Install the center support locknut and cage.





56. Loosely install the screw.





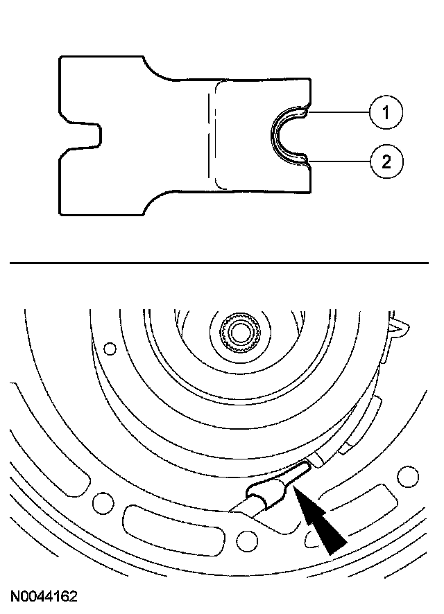
57. CAUTION: Install the center support retaining ring with the tapered side facing up.

CAUTION: Make sure the notch opening is not obstructed by the center support retaining ring.

Install the center support retaining ring.
1 Make sure the center support retaining ring is installed with the tapered side facing up.
2 Make sure the opening of the center support retaining ring is positioned correctly.





58. Install the center shaft thrust bearing (No. 3).





59. Install the overdrive ring gear, overdrive one-way clutch and center shaft assembly.





60. CAUTION: Do not bend the trigger wheel. Make sure that the No. 2 thrust bearing is in this assembly.

Install the planetary gear overdrive carrier.





61. Install the overdrive brake drum and coast clutch drum assembly.





62. Install the overdrive band servo piston and spring.
^ Lubricate the servo bore with clean automatic transmission fluid.





63. Using the special tools, install the retaining ring.





64. NOTE: If the overdrive band is reused, it must be installed in the same position as when removed.

NOTE: Make sure that the overdrive band apply strut is aligned with the band notch.

NOTE: The new overdrive band is dark in color. This is a normal condition of the band. Hairline cracks in the band are also considered normal. Do not install a new band based solely on the color.

Install the overdrive band.





65. CAUTION: To avoid a "fall-out" condition of the strut from the screw, during assembly and function, the small "U" shaped notch should be toward the band/case side and the large "U" shaped notch toward the main control side.

Install the overdrive band anchor strut.
1 Band/case side of the anchor (small U notch).
2 Main control side of the anchor (large U notch).





66. CAUTION: If the strut is installed incorrectly, transmission damage will occur.

Check to make sure that the overdrive band anchor strut is installed in the correct orientation to the case and adjustment screw.





67. Loosely install the screw.





68. Install the overdrive apply strut.





69. CAUTION: If the strut is installed incorrectly, transmission damage will occur.

Check to make sure that the overdrive band apply strut is installed in the correct orientation to the case and piston rod.





70. CAUTION: The torque specifications are critical for this procedure. Failure to use the correct torque specifications may cause transmission damage.

Install the special tool.
1 Install the special tool and the bolts using the 2 pump screw locations at approximately 6 and 12 o'clock positions.
^ Tighten to 15 Nm (11 ft. lbs.).

2 Tighten the center screw.
^ Tighten to 1.13 Nm (10 inch lbs.).





71. NOTE: Align the disc holes on the special tool with the slot in the gauge bar for correct measurement.

Measure the distance from the top of the gauge bar to the drum bearing surface through the hole in the disc, and record as dimension A. Repeat the measurement 180 degrees on the opposite side of the special tool and record as dimension B.
72. Add dimension A to B, divide by 2, and record as dimension C.
73. Subtract the thickness of the gauge bar 17.78 mm (0.70 inch) from dimension C and record as dimension D.
74. Select the No. 1 thrust bearing from the following chart using dimension D.











75. Install the selected No. 1 fluid pump input thrust washer.
^ Coat the fluid pump input thrust washer with petroleum jelly.





76. Install the special tools into the transmission case.





77. Install the pump gasket.





78. CAUTION: Make sure that the fluid pump inlet thrust washer (No. 1), selective thrust washer, fluid pump gasket and the fluid pump-to-case O-ring seal remain in the correct position throughout this step.

Install the fluid pump.





79. CAUTION: The special tools must be used to correctly align the pump with the adapter plate to reduce gear noise, bushing failure and leakage.

Using the special tool, align the fluid pump to the adapter plate.





80. Install the screws. Tighten the screws in a star pattern.
^ Tighten to 25 Nm (18 ft. lbs.).





81. Remove the special tools and install the 2 remaining screws.
^ Tighten to 25 Nm (18 ft. lbs.).





82. CAUTION: Do not allow the overdrive band adjustment screw to back out. Band strut could fall out of position.

CAUTION: Install, but do not tighten, a new locknut on the band adjustment screw. Apply petroleum jelly to the locknut seat.

Install a new locknut on the band adjustment screw.





83. CAUTION: The overdrive servo must be installed prior to band adjustment.

Using the special too], tighten the overdrive band adjustment screw. Then back off the screw exactly 1.5 turns and hold that position.
^ Tighten to 14 Nm (10 ft. lbs.).





84. Tighten the overdrive band locknut.
1 Hold the overdrive band adjustment screw stationary.
2 Tighten the overdrive band locknut.
^ Tighten to 54 Nm (40 ft. lbs.).





85. CAUTION: Do not allow the intermediate band adjusting screw to back out. Band strut could fall out of position.

CAUTION: Install, but do not tighten, a new locknut on the band adjustment screw. Apply petroleum jelly to the locknut seal.

Install a new nut on the band adjustment screw.





86. CAUTION: The intermediate servo must be installed prior to band adjustment.

Tighten the intermediate band adjustment screw. Then back off the screw exactly 1.5 turns and hold that position.
^ Tighten to 14 Nm (10 ft. lbs.).





87. Tighten the intermediate band locknut.
1 Hold the intermediate band adjustment screw stationary.
2 Tighten the intermediate band locknut.
^ Tighten to 54 Nm (40 ft. lbs.).





88. Tighten the center support screw.
^ Tighten to 11 Nm (8 ft. lbs.).





89. Using the special tools, carry out the air pressure test procedure.





90. Install the special tools into the transmission case.





91. Using the special tools, install the main control valve body and loosely install the screws.
1 Install the short screw.
2 Install the screw with the larger head.
3 Install the remaining screws.





92. Remove the special tools, and loosely install the screw.





93. Tighten the screws in the sequence shown.
^ Tighten to 10 Nm (89 inch lbs.).





94. With the manual lever in the NEUTRAL position, install the manual valve detent spring.
^ Tighten to 10 Nm (89 inch lbs.).





95. Install new O-ring seals on the solenoid body connector. Lubricate the O-ring seals with clean automatic transmission fluid.





96. CAUTION: Inspect the transmission case bore to make sure it is free of foreign material and not damaged. If damaged, a transmission leak may occur.

Install the solenoid body. Tighten the screws in the sequence shown.
^ Tighten to 8 Nm (71 inch lbs.).





97. Install the reverse servo. Tighten the bolts in the sequence shown in 2 stages.
^ Stage 1: Tighten to 5 Nm (44 inch lbs.).
^ Stage 2: Tighten to 11 Nm (8 ft. lbs.).





98. CAUTION: Lubricate the fluid filter seals with clean automatic transmission fluid or they may be damaged.

NOTE: Make sure that the fluid filter seals are correctly seated on the filter.

Lubricate the seals and install the transmission fluid filter.
^ Tighten to 10 Nm (89 inch lbs.).





99. NOTE: The transmission fluid pan gasket is reusable. Clean and inspect for damage. If not damaged, the gasket should be reused.

Install the transmission fluid pan and gasket an loosely install the screws.





100. Tighten the 16 screws in a crisscross sequence.
^ Tighten to 11 Nm (8 ft. lbs.).





101. Install the parking pawl assembly and gasket.
1 Install the parking pawl shaft.
2 Install the parking pawl return spring.
3 Install the parking pawl.
4 Install a new gasket.





102. Install the extension housing.
^ Tighten to 30 Nm (22 ft. lbs.).





103. Using the special tool, install the extension housing seal.





104. Using the special tools, install the output shaft flange.





105. Install a new nut.
^ Tighten to 131 Nm (97 ft. lbs.).





106. CAUTION: The digital transmission range (TR) sensor must fit flush against the boss on the case to prevent damage to the sensor.

Install the digital TR sensor and loosely install the screws.





107. CAUTION: Tightening one screw before tightening the other may cause the sensor to bind or become damaged.

NOTE: The manual lever must be in the NEUTRAL position.

Using the special tool, align the digital TR sensor and tighten the screws in an alternating sequence.
^ Tighten 8 Nm (71 inch lbs.).





108. CAUTION: The splines of the input shaft are not the same length on both ends. The shaft end with the shorter splines goes into the fluid pump.

Install the input shaft.





109. Using the special tool, make sure that the fluid pump gear seal ring is fully seated.





110. Remove the special tool.





111. CAUTION: Do not damage the fluid pump gear O-ring seal when installing torque converter.

CAUTION: Make sure the converter hub is fully engaged in the pump support and gear and rotates freely. Do not damage the hub seal.

CAUTION: If the torque converter slides out, the hub seal may be damaged.

Lubricate the converter hub with clean automatic transmission fluid.





112. WARNING: The torque converter can fall out if the transmission is tipped. Failure to follow these instructions may cause personal injury.

Using the special tools, install the torque converter by pushing and rotating.





113. Lubricate the torque converter pilot hub with multi-purpose grease.





114. CAUTION: The special tool must be used to correctly align the adapter plate to the converter, or transmission damage could occur.
In order to correctly install the special service tool, it must be installed using one round and one oblong hole. Using 2 oblong holes will cause damage to the transmission.

NOTE: Position the adapter plate on the torque converter and identify the position of the orange or green paint daub on the converter face.

If the vehicle is equipped, use the special tool to install the torque converter flex plate adapter assembly and 8 nuts.
^ Tighten to 40 Nm (30 ft. lbs.).





115. Remove the special tool and install the remaining torque converter flex plate adapter nuts.
^ Tighten to 40 Nm (30 ft. lbs.).





116. Using one of the speed sensor holes, fill the transmission with 8.5 Liters (9 quarts) of automatic transmission fluid.





117. NOTE: Inspect O-ring seal for damage. Install if damaged. Lubricate the O-ring seals new with petroleum jelly to prevent damage to the O-ring seals.

Install the sensors.
^ Tighten to 14 Nm (10 ft. lbs.).