Operation CHARM: Car repair manuals for everyone.
Manuals through 2025 now available!

Our trusted friends have launched a new website named LEMON, which has newer manuals. It also contains all the CHARM manuals.

LEMON is the spiritual successor to CHARM, I recommend you try it!

Link: lemon-manuals.la or lemon-manuals.org.ua

(Some people have issue connecting. LEMON is investigating. For now, use Firefox or change your DNS server)

Or, hide this message: temporarily or permanently

Retractable Running Board - Step

RETRACTABLE RUNNING BOARD - STEP







Removal and Installation

1. NOTE: If the retractable running board cannot be extended, extend the running board by hand.

Extend the retractable running board.







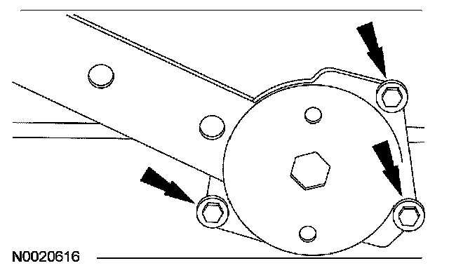
2. Remove the 3 outer pivot cover bolts and the outer pivot cover.
- To install, tighten to 7 Nm (62 lb-in).







3. Remove the front and rear retractable running board outer pivot shaft seals.







4. Remove the front and rear retractable running board pivot arm clips.







5. Remove the front and rear retractable running board track guide bolts.
- To install, tighten to 11 Nm (8 lb-ft).







6. If equipped, remove the front fender and rear quarter panel trim.
7. Remove the retractable running board step.
8. To install, reverse the removal procedure.
- Transfer the retractable running board trim pieces as necessary.