Operation CHARM: Car repair manuals for everyone.
Manuals through 2025 now available!

Our trusted friends have launched a new website named LEMON, which has newer manuals. It also contains all the CHARM manuals.

LEMON is the spiritual successor to CHARM, I recommend you try it!

Link: lemon-manuals.la or lemon-manuals.org.ua

(Some people have issue connecting. LEMON is investigating. For now, use Firefox or change your DNS server)

Or, hide this message: temporarily or permanently

Body Support - Radiator Support

BODY SUPPORT - RADIATOR SUPPORT


Radiator Support Mount:






Removal and Installation

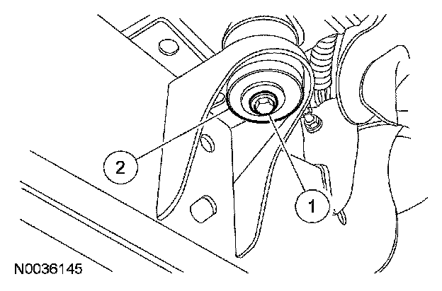
NOTE: Left side shown, right side similar.

Upper and lower body mount







1. Remove the lower radiator body mount.
1 Remove the lower radiator body mount bolt.
2 Remove the lower radiator body mount.
- To install, tighten to 80 Nm (59 lb-ft).

Upper body mount
2. Loosen the remaining body mount bolts.







3. Raise the vehicle body enough to remove the upper body mount.

Upper and lower body mount

4. NOTE:
- No lubricants of any kind are to be used during body mount installation.
- Do not reuse body mount fasteners. New fasteners must be installed for each fastener that has been removed or loosened.

To install, reverse the removal procedure.