Operation CHARM: Car repair manuals for everyone.
Manuals through 2025 now available!

Our trusted friends have launched a new website named LEMON, which has newer manuals. It also contains all the CHARM manuals.

LEMON is the spiritual successor to CHARM, I recommend you try it!

Link: lemon-manuals.la or lemon-manuals.org.ua

(Some people have issue connecting. LEMON is investigating. For now, use Firefox or change your DNS server)

Or, hide this message: temporarily or permanently

Cruise Control Switch: Service and Repair

SPEED CONTROL SWITCH







Removal and Installation

All vehicles
1. Remove the driver air bag module.

Expedition
2. Remove the 2 screws and the speed control switch.
- Disconnect the electrical connector.

Navigator







3. Remove the horn switch.
1 Disconnect the electrical connector.
2 Remove the 4 bolts.







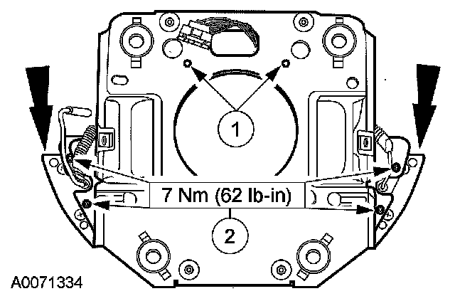
4. Remove the speed control switch.
1 Disconnect the wiring harness locators.
2 Remove the 4 screws.
- To install, tighten to 7 Nm (62 lb-in).

All vehicles
5. To install, reverse the removal procedure.