Operation CHARM: Car repair manuals for everyone.
Manuals through 2025 now available!

Our trusted friends have launched a new website named LEMON, which has newer manuals. It also contains all the CHARM manuals.

LEMON is the spiritual successor to CHARM, I recommend you try it!

Link: lemon-manuals.la or lemon-manuals.org.ua

(Some people have issue connecting. LEMON is investigating. For now, use Firefox or change your DNS server)

Or, hide this message: temporarily or permanently

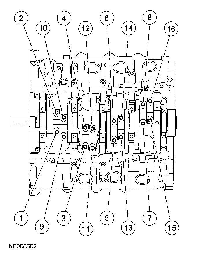
Connecting Rod, Engine

Connecting rod journal
Diameter 53.003-52.983 mm (2.0867-2.0859 inch)
Maximum taper 0.004 mm (0.0002 inch)
Maximum out-of-round between cross sections 0.0075 mm (0.0003 inch)
Rod-to-pin clearance 0.009-0.0235 mm (0.0004-0.0093 inch)
Rod pin bore diameter 22.012-22.024 mm (0.8666-0.8671 inch)
Rod length (center-to-center) 169.1 mm (6.6575 inch)
Rod maximum allowed bend 0.038 mm (0.0015 inch)
Rod maximum allowed twist 0.05 mm (0.0020 inch) b
Rod bearing bore diameter (with assembled liners) 53.049-53.027 mm (2.0885-2.0877 inch)
Rod bearing-to-crankshaft clearance 0.064-0.026 mm (0.0025-0.0010 inch)
Rod side clearance 0.475-0.125 mm (0.0187-0.0049 inch)

b The pin bore and crank bearing bore must be parallel and in the same vertical plane within the specified total difference when measured at the ends of a 203 mm bar, 105.5 mm on each side of rod centerline.





Connecting rod cap bolts
First pass 43 Nm (32 ft. lbs.)
Final pass tighten 105°