Operation CHARM: Car repair manuals for everyone.
Manuals through 2025 now available!

Our trusted friends have launched a new website named LEMON, which has newer manuals. It also contains all the CHARM manuals.

LEMON is the spiritual successor to CHARM, I recommend you try it!

Link: lemon-manuals.la or lemon-manuals.org.ua

(Some people have issue connecting. LEMON is investigating. For now, use Firefox or change your DNS server)

Or, hide this message: temporarily or permanently

Cross-Member: Service and Repair

CROSSMEMBER - NUMBER 2


Special Tool(s):






Special Tool(s)


Part 1:






Part 2:






Removal

CAUTION: Suspension fasteners are critical parts because they affect the performance of vital components and systems and their failure can result in major repair expense. A new part with the same part number must be installed if installation is necessary. Do not use a new part of lesser quality or substitute design. Torque values must be used as specified during reassembly to make sure of correct retention of these parts.

1. Remove the generator.
2. Remove the 4 pin-type retainers and the radiator sight shield.







3. Install the engine support bar.







4. Disconnect the RH anti-lock brake system (ABS) electrical connectors.







5. Disconnect the LH ABS electrical connectors.

6. WARNING: The electrical power to the air suspension system must be turned off prior to hoisting, jacking or towing an air suspension vehicle. Failure to do so can result in unexpected inflation or deflation of the air springs, which can result in shifting of the vehicle during these operations. Failure to follow these instructions may result in personal injury.

Remove the LH and RH front wheel and tire assemblies.

7. CAUTION: Do not allow the intermediate shaft to rotate while it is disconnected from the steering gear or damage to the clockspring can result. If there is evidence that the intermediate shaft has rotated, the clockspring must be removed and recentered.

Remove the bolt and detach the intermediate shaft from the steering gear.

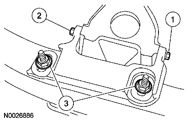
8. Remove the 2 nuts and the 2 bolts from the LH number 2 crossmember bracket and the 2 nuts and the 2 bolts from the RH number 2 crossmember bracket.
- Separate the number 2 crossmember brackets from the crossmember.

9. Raise and support the vehicle.
10. Remove the 2 engine mount nuts.

11. NOTE: The hex holding feature can be used to prevent turning of the stud while removing the nut.

Remove the 2 nuts and disconnect the LH and RH stabilizer bar links.

12. NOTE: The hex holding feature can be used to prevent turning of the stud while removing the nut.

Remove the 2 nuts and disconnect the LH and RH outer tie-rods ends.







13. Remove the 2 bolts and position the LH and RH brake hose and brackets assemblies aside.
14. Remove the 4 bolts and position the LH and RH brake calipers aside.
- Support the brake calipers away from the number 2 crossmember.







15. Position the front LH and RH ABS harness aside.
1 Release the 2 ABS harnesses from the support bracket.
2 Remove the 2 bolts and the brackets.
3 Remove the 2 harness retainers from the frame.

16. Remove the 2 steering gear nuts.







17. Remove the 2 studs and position the steering gear aside.
- Support the steering gear away from the number 2 crossmember.







18. Release the brake line from the retaining clips at the rear of the number 2 crossmember.
19. Lower the vehicle.
20. Using the engine support bar, raise the engine to remove the engine weight from the number 2 crossmember.
21. Raise and support the vehicle.
22. Remove the 3 LH lower control arm and 3 RH lower control arm rear mounting bolts.
23. Position a suitable support table under the number 2 crossmember.
24. Remove the 4 number 2 crossmember bolts.
25. Lower and remove the number 2 crossmember assembly.

Installation

1. NOTE: Position the sway bar and the rear bushing plates into place as the number 2 crossmember is being raised.

Raise and position the number 2 crossmember assembly.

2. Install the 4 number 2 crossmember bolts.
- Tighten to 250 Nm (184 lb-ft).

3. Position the LH and RH number 2 crossmember brackets.
4. Remove the support table.







5. CAUTION: The bolts must be tightened in the sequence shown, or damage to the crossmember bracket may occur.

Install the LH and RH number 2 crossmember bracket nuts and bolts.
1 Tighten the rear bolt.
- Tighten to 103 Nm (76 lb-ft).

2 Tighten the front bolt.
- Tighten to 103 Nm (76 lb-ft).

3 Tighten the nuts.
- Tighten to 200 Nm (148 lb-ft).

6. Install the 3 LH lower control arm and 3 RH lower control arm rear mounting bolts.
- Tighten to 90 Nm (66 lb-ft).







7. Position the brake line into the retaining clips at the rear of the number 2 crossmember.







8. Install the LH and RH ABS harness.
1 Install the 2 harness retainers into the frame.
2 Install the 2 brackets and bolts.
3 Install the 2 ABS harnesses into the support brackets.


9. Position the LH and RH brake calipers and install the 4 bolts.
- Tighten to 32 Nm (24 lb-ft).







10. Position the LH and RH brake hose and brackets and install the 2 bolts.







11. Position the steering gear and install the 2 steering gear studs.
- Tighten to 20 Nm (15 lb-ft).

12. Install the 2 steering gear nuts.
- Tighten to 103 Nm (76 lb-ft).

13. NOTE: The hex holding feature can be used to prevent turning of the stud while installing the nut.

Position the LH and RH stabilizer bar links and install the 2 nuts.
- Install new nuts.
- Tighten to 63 Nm (46 lb-ft).

14. NOTE: The hex holding feature can be used to prevent turning of the stud while installing the nut.

Position the LH and RH tie-rod ends and install the 2 nuts.
- Install new nuts.
- Tighten to 80 Nm (59 lb-ft).

15. Lower the vehicle.
16. Connect the intermediate shaft to the steering gear and install the bolt.
- Tighten to 30 Nm (22 lb-ft).







17. Remove the engine support bar.
18. Install the LH and RH front wheel and tire assemblies.







19. Connect the RH ABS electrical connectors.







20. Connect the LH ABS electrical connectors.
21. Install the generator.
22. Position the radiator sight shield and install the 4 pin-type retainers.
23. Raise and support the vehicle.
24. Install the 2 engine mount nuts.
- Tighten to 90 Nm (66 lb-ft).

25. Check the front end alignment and adjust as necessary.