Operation CHARM: Car repair manuals for everyone.
Manuals through 2025 now available!

Our trusted friends have launched a new website named LEMON, which has newer manuals. It also contains all the CHARM manuals.

LEMON is the spiritual successor to CHARM, I recommend you try it!

Link: lemon-manuals.la or lemon-manuals.org.ua

(Some people have issue connecting. LEMON is investigating. For now, use Firefox or change your DNS server)

Or, hide this message: temporarily or permanently

Electronic Brake Control Module: Service and Repair

Anti-Lock Brake System (ABS) Module

Anti-Lock Brake System (ABS) Module:





Removal and Installation
1. Remove the air cleaner assembly. For additional information, refer to Fuel Delivery and Air Induction.
2. Disconnect the battery ground cable. For additional information, refer to Battery.
3. Disconnect the anti-lock brake system (ABS) module electrical connector.
4. Disconnect the hydraulic control unit (HCU) pump motor electrical connector.

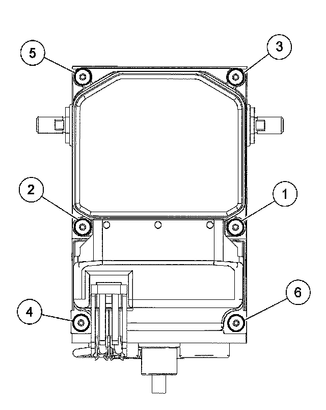
5. NOTE: Care must be taken when removing the module from the hydraulic control unit (HCU).





Remove the ABS module.
^ Remove the screws in the sequence shown.
^ To install, tighten to 3 Nm (27 inch lbs.).

6. NOTE: Make sure that the ABS module-to-HCU gasket surfaces are clean and that the gasket is correctly installed.

To install, reverse the removal procedure.