Operation CHARM: Car repair manuals for everyone.
Manuals through 2025 now available!

Our trusted friends have launched a new website named LEMON, which has newer manuals. It also contains all the CHARM manuals.

LEMON is the spiritual successor to CHARM, I recommend you try it!

Link: lemon-manuals.la or lemon-manuals.org.ua

(Some people have issue connecting. LEMON is investigating. For now, use Firefox or change your DNS server)

Or, hide this message: temporarily or permanently

Cylinder Head Assembly

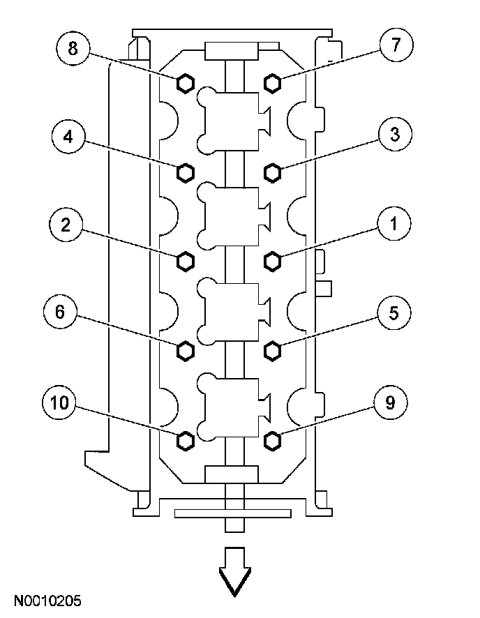
Cylinder head bolts
Tighten the bolts in 3 stages, in the sequence shown.

RH shown, LH similar.
Stage 1 40 Nm (30 ft. lbs.)
Stage 2 additional 90 degrees
Stage 3 additional 90 degrees





The cylinder head bolts must be discarded and new bolts installed. They are tighten-to-yield designed and cannot be reused.

Intake manifold bolts
Stage 1 2 Nm (18 inch lbs.)
Stage 2 10 Nm (89 inch lbs.)





Camshaft bearing cap bolts 10 Nm (89 in. lbs.)





Camshaft phaser sprocket bolt
Stage 1 40 Nm (30 ft. lbs.)
Stage 2 additional 90 degrees

Exhaust Manifold - LH 25 Nm (18 ft. lbs.)





Exhaust Manifold - RH 25 Nm (18 ft. lbs.)