Air Bag Control Module: Service and Repair
RESTRAINTS CONTROL MODULE (RCM)Special Tool(s):
Special Tool(s)
Removal and Installation
WARNING:
- Always wear safety glasses when repairing an air bag supplemental restraint system (SRS) vehicle and when handling an air bag module. This will reduce the risk of injury in the event of an accidental deployment.
- The restraints control module RCM) orientation is critical for proper SRS operation. If a vehicle equipped with a SRS system has been involved in a collision in which the center tunnel area has been damaged, inspect the mounting and bracket for deformation. If damaged, the RCM must be replaced whether or not the air bags have deployed. In addition, make sure the area of the RCM mounting is restored to its original condition.
- To reduce the risk of personal injury, do not use any memory saver devices.
- The tightening torque of the air bag RCM retaining bolts is critical for correct system operation.
CAUTION:
- When installing a new RCM, it necessary to carry out programmable module installation (PMI).
- When installing a new RCM, always make sure the correct RCM is being installed. The RCM connectors are keyed differently between vehicles with a short wheelbase and vehicles with a long wheelbase. Do not force the connectors onto the RCM. If the connectors are forced onto the RCM, damage to the RCM and/or connectors will occur.
- Electronic modules are sensitive to static electrical charges. If exposed to these charges, damage can result.
NOTE:
- The air bag warning lamp illuminates when the RCM fuse is removed and the ignition switch is ON. This is normal operation and does not indicate SRS fault.
- The SRS must be fully operational and free of faults before releasing the vehicle to the customer.
- Repair is made by installing a new part only. If the new part does not correct the condition, install the original part and perform the diagnostic procedure again.
1. Depower the system.
2. Remove the carpet patch.
3. Remove the ashtray.
1 Release the tabs.
2 Remove the ashtray.
- Separate the ashtray, disconnect the cigarette lighter and detach the wire harness from the ashtray.
4. Position the ashtray bracket aside.
1 Remove the screws.
2 Position the ashtray bracket aside to access the restraints control module (RCM).
5. Remove the insulator from on top of the RCM.
6. Remove the RCM bolts on the RH side.
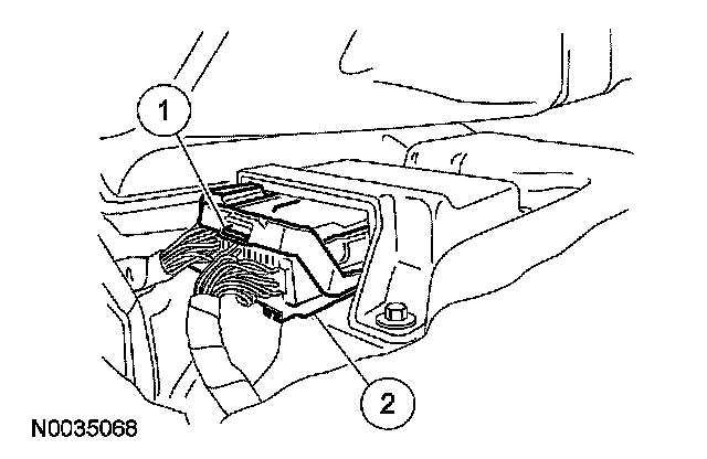
7. Disconnect the large RCM electrical connector.
1 Pinch the thumb tab and pivot the connector position assurance lever all the way back until it stops.
2 Pull out and disconnect the RCM electrical connector.
8. Disconnect the small RCM connector.
9. Remove the RCM bolt on the LH side and the RCM.
Installation
WARNING: A new RCM must have programmable module installation (PMI) performed following installation. Failure to follow this instruction may result in personal injury.
1. WARNING: The tightening torque of the air bag RCM retaining bolts is critical for correct system operation.
Position the RCM and install the 2 RCM bolts on the RH side.
- Tighten to 12 Nm (9 lb-ft).
2. Connect the small RCM electrical connector.
3. Install the RCM bolt on the LH side.
- Tighten to 12 Nm (9 lb-ft).
4. Make sure the connector position assurance lever is all the way back and in the full release position before attempting to connect the connector.
5. CAUTION: Putting the large RCM electrical connector into the RCM on an angle can cause bad electrical connections and damage components.
NOTE: The RCM has been removed for clarity.
Position the large RCM electrical connector into the RCM.
- CAUTION: Do not push the connector on to where the lever pivots and seats itself. Light pressure is needed to get the connector into position on the RCM before using the lever to fully seat the connector.
With the large RCM electrical connector uniformly aligned to the RCM, lightly push in until a subtle audible click is heard and slight resistance is felt.
6. NOTE: The RCM has been removed for clarity.
Connect the large RCM electrical connector.
- Using the connector position assurance lever, pivot it toward the RCM, drawing the connector into the RCM.
- Make sure the thumb tab is engaged to the retainer on the RCM and is locked in place.
7. Install the insulator on top of the RCM.
8. Install the ashtray bracket.
1 Position the ashtray bracket to the instrument panel.
2 Install the screws.
9. Install the ashtray.
- Attach the wire harness and connect the cigarette lighter.
10. Install the carpet patch.
11. Repower the SRS. Do not prove out the system at this time.
12. NOTE: When a new RCM is first installed in the vehicle, programmable module installation (PMI) must be carried out. The diagnostic trouble code (DTC) B2477 will be stored in the RCM memory (continuous fault) and will flash lamp fault code (LFC) 54 (or higher priority code if one exists) on the air bag indicator. The DTC B2477 cannot be cleared from memory until RCM PMI has been carried out.
If a new RCM is being installed, perform PMI on the RCM.
13. Prove out the supplemental restraint system (SRS) as follows:
Turn the ignition key from ON to OFF. Wait 10 seconds, then turn the key back to ON and visually monitor the air bag indicator with the air bag modules installed. The air bag indicator will light continuously for approximately 6 seconds and then turn off. If an air bag supplemental restraint system (SRS) fault is present, the air bag indicator will:
- fail to light.
- remain lit continuously.
- flash.
The flashing might not occur until approximately 30 seconds after the ignition switch has been turned from the OFF to the ON position. This is the time required for the restraints control module (RCM) to complete the testing of the SRS. If the air bag indicator is inoperative and a SRS fault exists, a chime will sound in a pattern of 5 sets of 5 beeps. If this occurs, the air bag indicator and any SRS fault discovered must be diagnosed and repaired.
Clear all continuous DTCs from the restraints control module using a scan tool.