Operation CHARM: Car repair manuals for everyone.
Manuals through 2025 now available!

Our trusted friends have launched a new website named LEMON, which has newer manuals. It also contains all the CHARM manuals.

LEMON is the spiritual successor to CHARM, I recommend you try it!

Link: lemon-manuals.la or lemon-manuals.org.ua

(Some people have issue connecting. LEMON is investigating. For now, use Firefox or change your DNS server)

Or, hide this message: temporarily or permanently

Part 1

Engine

Assembly (Steps 1-26)

Special Tool(s) (Part 1):




Special Tool(s) (Part 2):




Material (Part 1):




Material (Part 2):




Engine Upper:




Engine Front:




Engine Lower:




LH Cylinder Head:




RH Cylinder Head:





CAUTION: During engine repair procedures, cleanliness is extremely important. Any foreign material, including any material created while cleaning gasket surfaces that enters the oil passages, coolant passages or the oil pan, may cause engine failure.

All vehicles

1. CAUTION: Failure to use Motorcraft High Performance Engine RTV Silicone may cause the engine oil to foam excessively and result in serious engine damage.

NOTE: The crankshaft rear seal retainer must be installed and the bolts tightened within 4 minutes of sealant application.

Apply a 3 mm (0.11 inch) bead of Motorcraft High Performance Engine RTV Silicone to the sealing surface of the crankshaft rear seal retainer.





2. Install the rear seal retainer and the 8 bolts.
^ Tighten in the sequence shown to 10 Nm (89 lb-inch).





3. Install the oil pump and the 3 bolts.
^ Tighten to 10 Nm (89 lb-inch).





4. Using a new O-ring seal, install the oil pump screen and pickup tube and the 3 bolts.
^ Tighten to 10 Nm (89 lb-inch).





5. NOTE: The A/C compressor must be installed on the cylinder block and the 2 bolts tightened prior to installing the oil pan.

Install the A/C compressor and the 2 bolts.
^ Tighten to 25 Nm (18 lb-ft).





6. CAUTION: Failure to use Motorcraft High Performance Engine RTV Silicone may cause the engine oil to foam excessively and result in serious engine damage.

NOTE: The oil pan and the 4 specified bolts must be installed and the oil pan aligned to the cylinder block and A/C compressor within 4 minutes of sealant application. Final tightening of the oil pan bolts must be carried out within 60 minutes of sealant application.

Apply a 3 mm (0.11 inch) bead of Motorcraft High Performance Engine RTV Silicone to the sealing surface of the oil pan.
^ Apply a 5.5 mm (0.21 inch) bead of Motorcraft High Performance Engine RTV Silicone to the 2 crankshaft seal retainer plate-to-cylinder block joint areas on the sealing surface of the oil pan.





7. NOTE: The oil pan and the 4 specified bolts must be installed within 4 minutes of the start of sealant application.

Install the oil pan and bolts 10, 11, 13 and 14.
^ Tighten the bolts in the sequence shown to 3 Nm (27 lb-inch).
^ Loosen the bolts 180 degrees.





8. Align the oil pan to the cylinder block and A/C compressor.
^ Position the oil pan so the mounting boss is against the A/C compressor and using a straightedge, align the oil pan flush with the rear of the cylinder block at the 2 areas shown.





9. Tighten bolts 10, 11, 13 and 14 in the sequence shown, to 3 Nm (27 lb-inch).





10. Install the remaining oil pan bolts. Tighten all the oil pan bolts in the sequence shown.
^ Tighten the large bolts (1-14) to 24 Nm (18 lb-ft).
^ Tighten the small bolts (15 and 16) to 10 Nm (89 lb-inch).





11. Install the A/C compressor mounting stud and nut.
^ Tighten the stud to 9 Nm (80 lb-inch) and the nut to 25 Nm (18 lb-ft).





12. Install the coolant pump and the 8 bolts.
^ Tighten in the sequence shown to 10 Nm (89 lb-inch).





13. Install the knock sensor (KS) and the 2 bolts.
^ Tighten to 20 Nm (15 lb-ft).





14. NOTE: Apply clean engine coolant to the O-ring seals prior to installation.

Using new O-ring seals, install the coolant tube.





15. Install a new gasket, the RH cylinder head and 8 new bolts. Tighten in the sequence shown in 5 stages:
^ Stage 1: Tighten to 20 Nm (15 lb-ft).
^ Stage 2: Tighten to 35 Nm (26 lb-ft).
^ Stage 3: Tighten 90 degrees.
^ Stage 4: Tighten 90 degrees.
^ Stage 5: Tighten 90 degrees.





16. Install the bolt.
^ Tighten to 10 Nm (89 lb-inch).





17. Install a new gasket, the LH cylinder head and 8 new bolts. Tighten in the sequence shown in 5 stages:
^ Stage 1: Tighten to 20 Nm (15 lb-ft).
^ Stage 2: Tighten to 35 Nm (26 lb-ft).
^ Stage 3: Tighten 90 degrees.
^ Stage 4: Tighten 90 degrees.
^ Stage 5: Tighten 90 degrees.





18. Install the bolt.
^ Tighten to 10 Nm (89 lb-inch).





19. CAUTION: The crankshaft must remain in the freewheeling position (crankshaft dowel pin at 9 o'clock) until after the camshafts are installed and the valve clearance is checked/adjusted. Do not turn the crankshaft until instructed to do so. Failure to follow this process will result in severe engine damage.

Position the crankshaft dowel pin in the 9 o'clock position.





20. NOTE: The valve tappets must be installed in their original positions.

NOTE: Coat the valve tappets with clean engine oil prior to installation.

NOTE: LH shown, RH similar.

Install the valve tappets.





21. CAUTION: The camshafts must remain in the neutral position during installation or engine damage may occur.

NOTE: Coat the camshafts with clean engine oil prior to installation.

Position the camshafts onto the RH cylinder head in the neutral position as shown.





22. NOTE: Cylinder head camshaft bearing caps are numbered to verify that they are assembled in their original positions.

Install the 8 camshaft caps and the 16 bolts.
^ Tighten in the sequence shown to 10 Nm (89 lb-inch).





23. CAUTION: The camshafts must remain in the neutral position during installation or engine damage may occur.

NOTE: Coat the camshafts with clean engine oil prior to installation.

Position the camshafts onto the LH cylinder head in the neutral position as shown.





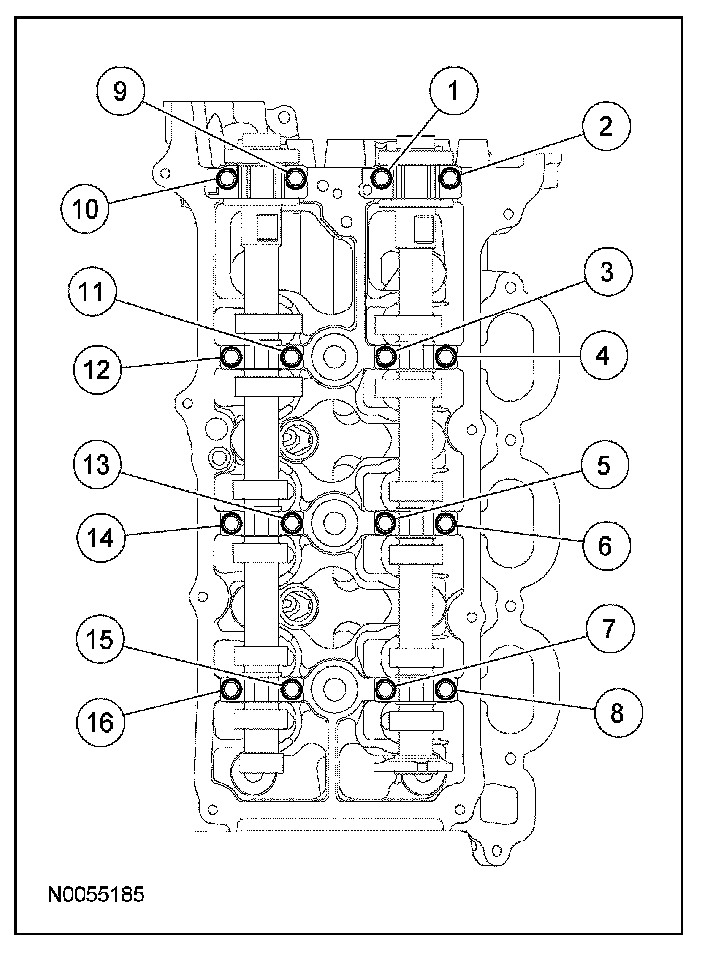
24. NOTE: Cylinder head camshaft bearing caps are numbered to verify that they are assembled in their original positions.

Install the 8 camshaft caps and the 16 bolts.
^ Tighten in the sequence shown to 10 Nm (89 lb-inch).





25. CAUTION: If any components are installed new, the engine valve clearance must be checked/adjusted or engine damage may occur.

NOTE: Use a camshaft sprocket bolt to turn the camshafts.

Using a feeler gauge, confirm that the valve tappet clearances are within specification. If valve tappet clearances are not within specification, the clearance must be adjusted by installing new valve tappet(s) of the correct size.





26. Install the RH primary timing chain guide and the 2 bolts.
^ Tighten to 10 Nm (89 lb-inch).