Operation CHARM: Car repair manuals for everyone.
Manuals through 2025 now available!

Our trusted friends have launched a new website named LEMON, which has newer manuals. It also contains all the CHARM manuals.

LEMON is the spiritual successor to CHARM, I recommend you try it!

Link: lemon-manuals.la or lemon-manuals.org.ua

(Some people have issue connecting. LEMON is investigating. For now, use Firefox or change your DNS server)

Or, hide this message: temporarily or permanently

Piston Inspection

Piston Inspection





CAUTION: Do not use a caustic cleaning solution or a wire brush to clean the pistons or damage can occur.

1. Clean and inspect the (1) ring lands, (2) skirts, (3) pin bosses and the (4) tops of the pistons. If wear marks, scores or glazing is found on the piston skirt, check for a bent or twisted connecting rod.





2. Use the Piston Ring Groove Scraper to clean the piston ring grooves.
^ Make sure the oil ring holes are clean.





Piston Pin Bore Diameter

1. WARNING: Since the retainer ring has a tendency to spring out, cover the end of the pin bore with a hand or shop rag when removing the ring. Wear eye protection. Failure to follow these instructions may result in serious personal injury.

NOTE: Piston and piston pins are a matched set and should not be interchanged.

Measure the piston pin bore diameter in 2 directions on each side. Verify the diameter is within specification.








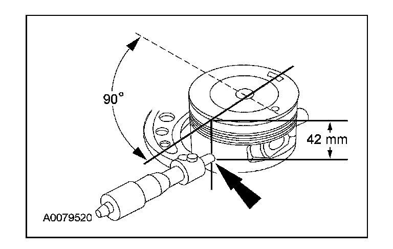
Piston Diameter

1. Measure the piston diameter 90 degrees from the piston pin and 42 mm (1.65 in) down from the top of the piston at the point indicated.





Piston To Cylinder Bore Clearance

1. Subtract the piston diameter from the cylinder bore diameter to find the piston-to-cylinder bore clearance.

Piston Selection

NOTE: The cylinder bore must be within the specifications for taper and out-of-round before fitting a piston.

1. Select a piston size based on the cylinder bore.





2. NOTE: For precision fit, new pistons are divided into 3 categories within each size range based on their relative position within the range. A paint spot or specific size grade on a new piston indicates the position within the size range.

Choose the piston with the correct paint color or specific size grade.





Piston Ring End Gap

CAUTION: Use care when fitting piston rings to avoid possible damage to the piston ring or the cylinder bore.

NOTE: Piston rings should not be transferred from one piston to another.

NOTE: The cylinder bore must be within specification for taper and out-of-round.

1. Use a piston without rings to push a piston ring in a cylinder to the bottom of ring travel.





2. Use a feeler gauge to measure the top piston ring end gap and the second piston ring end gap.





Piston Ring-to-Groove Clearance

1. Inspect the piston for ring land damage or accelerated wear.





2. Measure the piston ring-to-groove clearance.





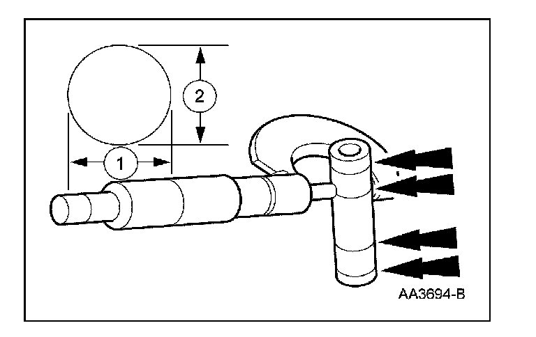
Piston Pin Diameter

1. Measure the piston pin diameter in 2 directions at the points shown. Verify the diameter is within specification.