Part 1
AxleDisassembly
All axles
1. Remove the axle assembly from the vehicle.
2. Remove the 4 bolts retaining the torque arm to the rear axle housing.
3. Drain the rear axle lubricant and remove the 12 bolts and the rear axle cover.
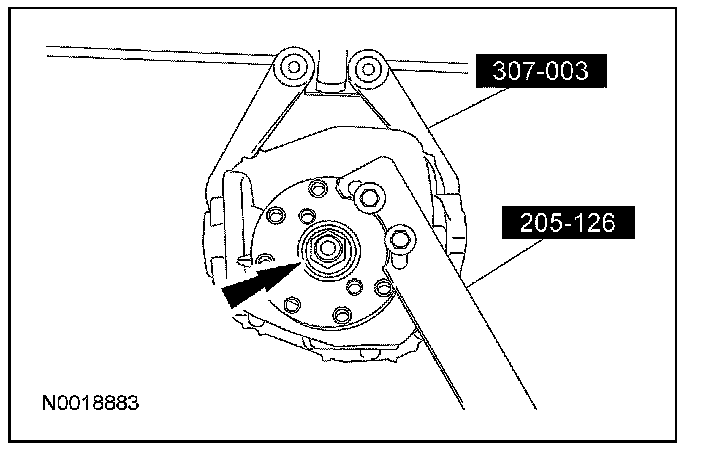
4. Using the special tools, mount the differential housing to a work bench.
5. Using the special tool, measure and record the differential ring gear backlash between teeth in 4 equally spaced places around the ring gear.
^ Remove the dial indicator.
6. CAUTION: Mark the position and location of the differential bearing caps as the arrows may not be visible. Always install the differential bearing caps in their original locations and positions or damage to the components may occur.
Remove the 4 bolts and the 2 differential bearing caps.
7. CAUTION: Use wood blocks to avoid damaging the differential housing.
NOTE: Tag the bearing caps and shims for location as removed.
Remove the differential assembly in the following sequence.
1. Position wood blocks at the top and bottom of the differential case.
2. Pry the differential assembly and the differential bearing shims out of the differential housing.
Excessive differential ring gear backlash between teeth
NOTE: If the differential ring gear backlash between teeth measurement, taken at the beginning of this procedure, did not exceed the specification, proceed to Final disassembly in this procedure. If the differential ring gear backlash between teeth measurement exceeds the specification, the cause may be a warped differential ring gear, a damaged differential case or loss of differential bearing preload. Verify the cause of the excessive runout.
8. Remove the 12 ring gear bolts.
9. CAUTION: Do not damage the bolt hole threads.
Insert a punch in the bolt holes and drive off the differential ring gear.
10. NOTE: Visually inspect the differential carrier bearings and cups for discoloration or other signs of bearing failure.
NOTE: Install the differential bearing cups and shims in the same locations they were in before disassembly.
Install the differential case. Rotate the differential case to seat the differential bearings.
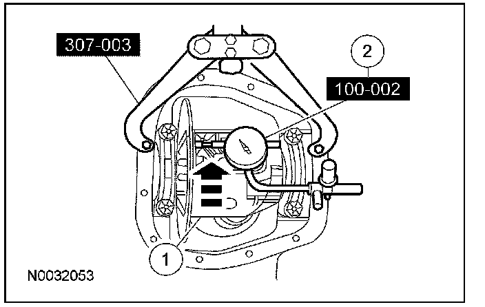
11. Using the special tool, measure the differential case flange runout.
1. Rotate the differential case to make sure the differential bearings are seated.
2. Position the special tool.
^ If the runout does not exceed the specification, the cause of the original excessive runout is the differential ring gear. Remove the differential case. Discard the differential ring gear and the drive pinion gear. Proceed to Final disassembly in this procedure.
^ If the runout exceeds the specification, the differential ring gear is true and the concern is due to either differential case/differential bearing damage.
^ Remove the special tool.
12. Remove the differential case from the rear axle housing, and remove the differential bearings using the special tools.
13. Using the special tool, install the new differential bearings on the differential case.
14. Measure the differential case runout without the differential ring gear.
^ Check the differential case flange runout again with the new differential bearings. If the runout is now within the specification shown, use the new differential bearings for assembly. If the runout is still excessive, the differential case is damaged and must be installed new.
Final Disassembly, Differential Case and Ring Gear - Traction-Lok(R)
15. Remove the 12 differential ring gear bolts.
16. CAUTION: Do not damage the ring gear bolt hole threads.
Insert a punch in the bolt holes and drive the differential ring gear off the differential case.
17. NOTE: The differential bearings do not need to be removed to overhaul the Traction-Lok(R) differential. If bearing removal is required, use special tool 205-D072 and special tool 205-D019 for the differential case bearings.
Remove the differential pinion shaft lock bolt and remove the differential pinion shaft.
18. Install the special tool in a suitable vise.
19. Install the differential case on the tool.
20. NOTE: Apply a small amount of grease to the centering hole of the special tool.
Install the special tool in the bottom side gear bore.
21. Install the nut in the upper differential side gear. Hold the nut in position while installing the hex screw. Tighten the hex nut until contact is made with the step plate.
22. NOTE: The dowel bar is used to keep the nut from turning when the forcing screw is tightened.
Insert a suitable dowel bar in the hole of the nut. Tighten the forcing screw to force the differential side gear away from the differential pinion gears.
23. Insert the special tool in the pinion shaft bore and turn the differential case to move the differential pin gears and thrust washers to the differential case opening.
24. Remove the differential pinion gears and differential pinion gear thrust washers.
25. Remove the differential side gears and differential clutch packs. Tag the gears, clutch packs and shims for location.
26. CAUTION: When separating the clutch plates and clutch discs, note the sequence in which they are disassembled. They must be reassembled in the same sequence.
CAUTION: Do not use acids or solvents to clean the differential clutch components. Use a clean, lint-free cloth only.
Separate the differential clutch packs for cleaning and inspection.
Final Disassembly, Differential Case and Ring Gear - Conventional
27. Remove the 12 differential ring gear bolts.
28. CAUTION: Do not damage the ring gear bolt hole threads.
Insert a punch in the bolt holes and drive off the differential ring gear.
29. Using the special tools, remove the 2 differential bearings.
All axles
30. Record the torque necessary to maintain rotation of the drive pinion gear through several revolutions prior to removing the drive pinion flange.
31. CAUTION: After removing the drive pinion nut, discard it. Use a new nut for installation.
Using the special tool, remove the drive pinion nut.
32. Index-mark the drive pinion flange and drive pinion gear stem to maintain initial balance during installation.
33. Using the special tool, remove the drive pinion flange.
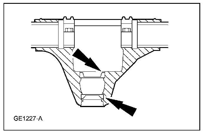
34. Force up on the metal flange of the drive pinion seal. Install gripping pliers and strike with a hammer until the pinion seal is removed.
35. Remove the drive pinion shaft oil slinger.
36. Using the special tool and a soft-faced hammer, drive the drive pinion gear out of the front pinion bearing and remove it through the rear of the differential housing.
37. Remove and discard the drive pinion collapsible spacer.
38. Using the special tool and a suitable press, remove the drive pinion bearing.
39. NOTE: Using a micrometer, measure the drive pinion bearing adjustment shim thickness. Use this measurement as a reference to compare to the shim gauge reading taken prior to installing the pinion bearing.
Remove the drive pinion bearing adjustment shim.
40. NOTE: Tap alternately on opposite sides of the cups to prevent them from cocking in the bore.
Use a suitable brass drift to remove the differential bearing cups.