Operation CHARM: Car repair manuals for everyone.
Manuals through 2025 now available!

Our trusted friends have launched a new website named LEMON, which has newer manuals. It also contains all the CHARM manuals.

LEMON is the spiritual successor to CHARM, I recommend you try it!

Link: lemon-manuals.la or lemon-manuals.org.ua

(Some people have issue connecting. LEMON is investigating. For now, use Firefox or change your DNS server)

Or, hide this message: temporarily or permanently

System Specifications

Cylinder Head Bolts
The cylinder head bolts must be discarded and new bolts installed. They are tighten-to-yield designed and cannot be reused.

Stage 1 40 Nm (30 lb-ft).
Stage 2 Tighten an additional 90° (1/4 turn)
Stage 3 Loosen a minimum of one full turn (360°)
Stage 4 40 Nm (30 lb-ft).
Stage 5 Tighten an additional 90° (1/4 turn)
Stage 6 Tighten an additional 90° (1/4 turn)





Cylinder Head Surface
The cylinder head must not have depressions deeper than 0.0254 mm (0.001 in) across a 38.1 mm (1.5 in) square area, or scratches more than 0.0254 mm (0.001 in).

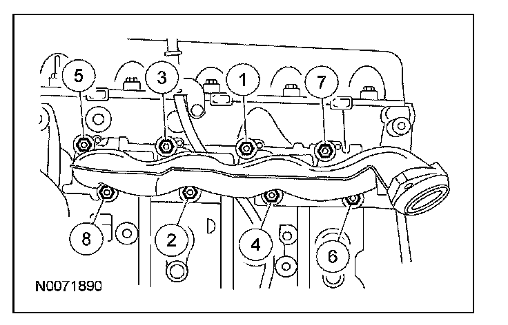
Intake manifold bolts 25 Nm (18 lb-ft).





Camshaft bearing cap bolts 10 Nm (89 lb-in).





Camshaft Sprocket Bolts
Discard the bolts.

Stage 1 40 Nm (30 lb-ft).
Stage 2 Tighten an additional 90° (1/4 turn)

Exhaust Manifold Studs 12 Nm (9 lb-ft).
Discard the studs.

Exhaust Manifold Nuts 20 Nm (15 lb-ft).
Discard the nuts.