Operation CHARM: Car repair manuals for everyone.
Manuals through 2025 now available!

Our trusted friends have launched a new website named LEMON, which has newer manuals. It also contains all the CHARM manuals.

LEMON is the spiritual successor to CHARM, I recommend you try it!

Link: lemon-manuals.la or lemon-manuals.org.ua

(Some people have issue connecting. LEMON is investigating. For now, use Firefox or change your DNS server)

Or, hide this message: temporarily or permanently

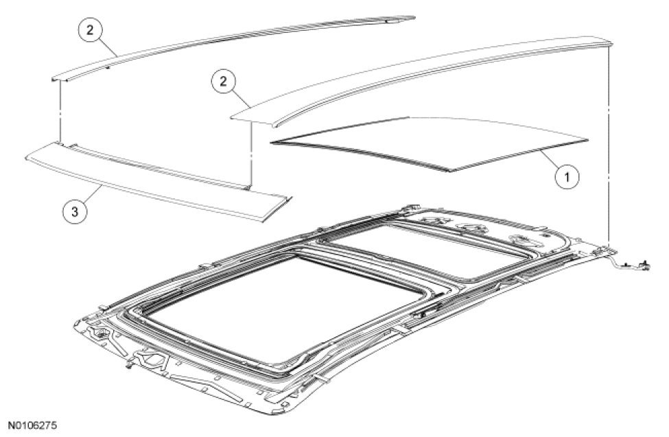
Sunroof / Moonroof Frame




Roof Opening Panel - Exploded View

Exterior Trim and Fixed Glass









Air Deflector Assembly









Sliding Glass, Blinds and Primary Seal









Idler Track and Mechanism

NOTE: LH shown, RH similar.











Front and Rear Sunshade Assembly









Rear Trim Ring Assembly









Roof Opening Panel Motor(s) and Electrical









Motor Block and Drive Tube Assembly









Guide Tracks and Mechanisms

NOTE: LH shown, RH similar.











Front Guide Track Mechanism

NOTE: LH shown, RH similar.