Operation CHARM: Car repair manuals for everyone.
Manuals through 2025 now available!

Our trusted friends have launched a new website named LEMON, which has newer manuals. It also contains all the CHARM manuals.

LEMON is the spiritual successor to CHARM, I recommend you try it!

Link: lemon-manuals.la or lemon-manuals.org.ua

(Some people have issue connecting. LEMON is investigating. For now, use Firefox or change your DNS server)

Or, hide this message: temporarily or permanently

Frame and Body Mounting




Frame and Body Mounting

The frame is made up of 2 steel boxed side rails and crossmembers, which are welded to the 2 side rails. The transmission crossmember is bolted to the side rails. The side welded rails and crossmembers are not replaced separately.

The service kits available for the frame are the following:

- RH front horn replacement kit
- LH front horn replacement kit
- Front bumper bracket replacement kit
- 1B crossmember replacement kit
- Transmission crossmember replacement kit
- Exhaust hanger bracket kit

Refer to the instructions included in the kits for installation instructions. For any frame repair, refer to Frame.

Frame Mounted Heat Shields

All frame-mounted heat shields, except the spare tire heat shield and the upper control arm heat shield, are tightened to 20 Nm (177 lb-in). The spare tire heat shield is tightened to 25 Nm (18 lb-ft). The upper control arm heat shield is tightened to 15 Nm (133 lb-in).

Frame Components









Spare Tire Winch









Skid Plates









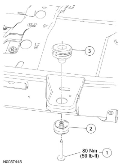
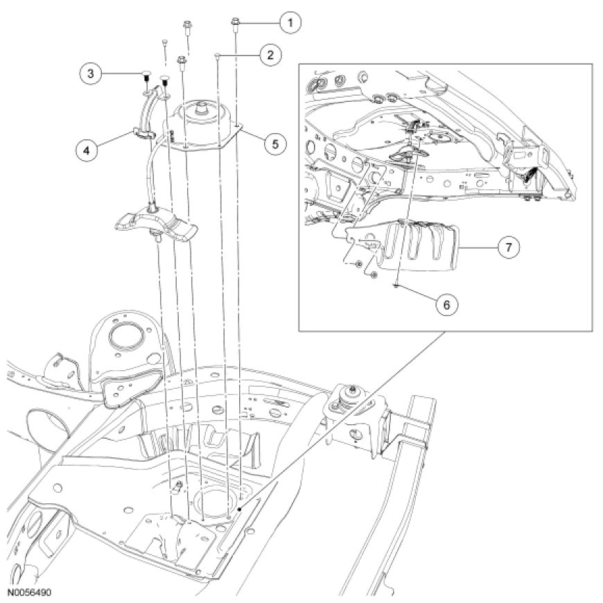
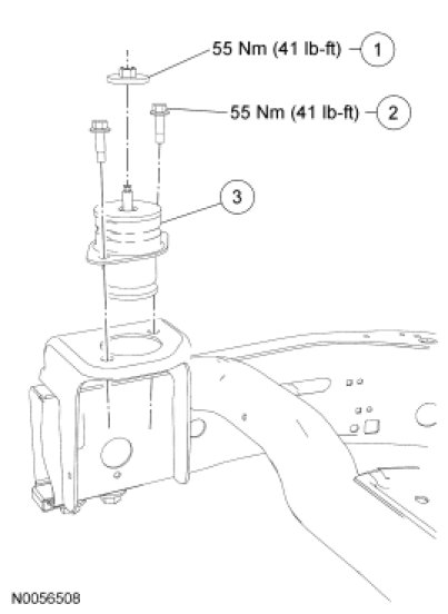
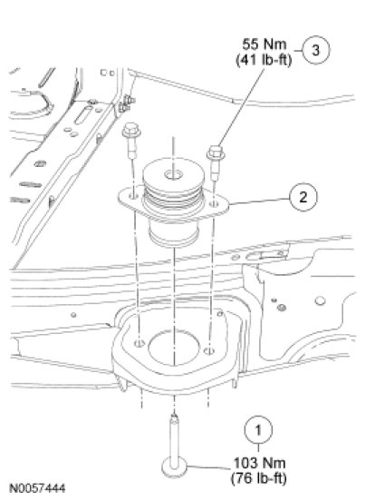
NOTICE: When removing upper body mounts, enough adjacent body mount support bolts or nuts must be removed to prevent damage occurring to the vehicle.

NOTE: Do not reuse body support mounting fasteners. New fasteners must be installed for each fastener that has been removed or loosened.

NOTE: No lubricants of any kind are to be used during body mount installation.

Body Support - Front End Sheet Metal (FESM)









Body Support - No. 1









Body Support - No. 2 and No. 3

NOTE: No. 2 body mount shown, No. 3 body mount similar.











Body Support - No. 4