Operation CHARM: Car repair manuals for everyone.
Manuals through 2025 now available!

Our trusted friends have launched a new website named LEMON, which has newer manuals. It also contains all the CHARM manuals.

LEMON is the spiritual successor to CHARM, I recommend you try it!

Link: lemon-manuals.la or lemon-manuals.org.ua

(Some people have issue connecting. LEMON is investigating. For now, use Firefox or change your DNS server)

Or, hide this message: temporarily or permanently

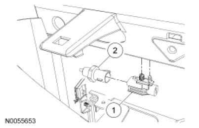
Ambient Air Temperature Sensor




Ambient Air Temperature Sensor









Removal and Installation

1. Remove the upper radiator sight shield.

2. Detach and disconnect the ambient temperature sensor electrical connector.

3. Remove the ambient air temperature sensor.

4. To install, reverse the removal procedure.