Operation CHARM: Car repair manuals for everyone.
Manuals through 2025 now available!

Our trusted friends have launched a new website named LEMON, which has newer manuals. It also contains all the CHARM manuals.

LEMON is the spiritual successor to CHARM, I recommend you try it!

Link: lemon-manuals.la or lemon-manuals.org.ua

(Some people have issue connecting. LEMON is investigating. For now, use Firefox or change your DNS server)

Or, hide this message: temporarily or permanently

Assembly




Axle





















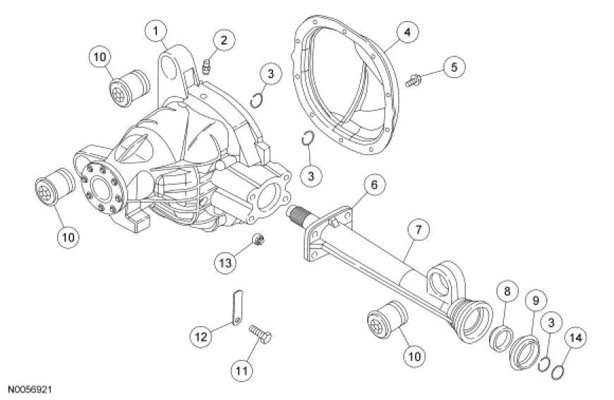
Front Axle Assembly - Disassembled View










Assembly

1. NOTICE: Do not omit the pinion bearing oil baffle; bearing failure may result.

If removed, position the baffle on the Drive Carrier Bearings Installer.





2. Using the Drive Carrier Bearings Installer, install the baffle.





3. NOTE: Always install new pinion bearings when installing new pinion bearing cups.

Lightly oil the new pinion bearing cups and pinion bearings with front axle lubricant.

4. Using the Drive Pinion Bearing Cup Installer, install the bearing cups.





5. NOTE: The pinion bearings assembled in this procedure step must be used at final assembly.

Assemble and position the Adapters and the pinion bearings in the carrier housing.

1. Position the screw adapter.

2. Position the aligning adapter.

3. Position the pinion bearing.

4. Position the gauge disc adapter.

5. Position the gauge block adapter.

6. Position the pinion bearing.

7. Thread on the handle adapter.





6. NOTE: This step duplicates final pinion bearing preload.

Tighten the Adapter to simulate bearing preload.

- Tighten to 2.2 Nm (20 lb-in).





7. NOTE: Offset the gauge block adapter to obtain an accurate reading.

Rotate the gauge block Adapter several half-turns to make sure the pinion bearings seat correctly and position the gauge block adapter.





8. Install the Drive Pinion Gauge Tube.

1. Position the Drive Pinion Gauge Tube.

2. Install the 2 differential bearing caps.

3. Install the 4 bolts.

- Tighten to 105 Nm (77 lb-ft).





9. NOTE: Use only flat, clean drive pinion bearing adjustment shims.

NOTE: Do not attempt to force the shim between the gauge block adapter and the gauge tube adapter. A slight drag indicates correct shim selection.

Use a drive pinion bearing adjustment shim as a gauge for shim selection.

- Check the adjustment shim thickness between the gauge block adapter and the gauge tube adapter.

- After determining the correct shim thickness, remove the Drive Pinion Gauge Tube.





10. NOTE: The same pinion bearings from the previous steps must be used.

Install the pinion bearing.

- Place the drive pinion bearing adjustment shim on the pinion gear.

- Using a suitable press and the Drive Pinion Bearing Cone Installer, press the pinion bearing until it is firmly seated on the pinion gear.





11. Place a new drive pinion collapsible spacer on the pinion stem.





12. Install the outer pinion bearing.





13. Install the slinger.





14. NOTE: Coat the lips of the pinion seal with front axle lubricant.

Place the pinion seal on the Drive Pinion Oil Seal Installer.

15. Place the Drive Pinion Oil Seal Installer and seal in the pinion seal bore and drive the seal into place.





16. Lightly lubricate the pinion gear splines with front axle lubricant.

17. Position the drive pinion in the housing.





18. NOTICE: Never install the drive pinion U-joint flange with a hammer or power tools.

NOTE: Disregard the scribe marks if installing a new flange.

Align the index marks and position the U-joint flange on the drive pinion.

19. Using the Drive Pinion Flange Installer, install the drive pinion U-joint flange.





20. Apply a small amount of lubricant to the washer side of the new pinion nut, and install the nut.

21. NOTICE: Do not loosen the pinion nut to reduce preload under any circumstance. If it is necessary to reduce preload, install a new drive pinion collapsible spacer and pinion nut or damage to the component may occur.

Install the Drive Pinion Flange Holding Fixture and tighten the pinion nut. Refer to the torque specifications in the Specifications information.

- Rotate the pinion gear occasionally to make sure the pinion bearings are seating correctly. Take frequent pinion bearing torque preload readings by rotating the pinion gear with a Nm (lb-in) torque wrench.









22. Use a fine flat file to remove any burrs or nicks from the ring gear mounting surface.





23. Install the differential ring gear.

1. Place the differential ring gear on the differential assembly.

2. Hand-start 3 ring gear bolts to align the holes in the differential ring gear and the differential assembly.

3. Place the differential carrier and differential ring gear onto the press bed blocks with the differential gear teeth facing downward.

4. Press the differential ring gear into place.





24. Install the remaining new bolts.
- Tighten to 128 Nm (95 lb-ft).





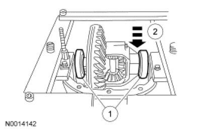
25. NOTE: Press against the bearing inner core only.

Using a suitable press and the Differential Side Bearing Installer, install the differential bearings.

1. Position the appropriate differential bearing (RH or LH).

2. Using a suitable press and the Differential Side Bearing Installer, install the differential bearing.

- Repeat the procedure for the other differential bearing.





26. Install the differential carrier.

1. Position the differential bearing cups on the differential bearings.

2. Lower the differential carrier in place.





27. Install a differential bearing shim of the thickness shown on the LH side of the differential bearing.





28. NOTE: Apply pressure to the left side to make sure the left bearing cup is seated.

Install the left bearing cap and loosely install the 2 bearing cap bolts.





29. Install progressively thicker differential bearing shims on the right side until the thickest differential bearing shim can be inserted by hand.





30. Install the right bearing cap and 2 bolts.

31. Tighten the 4 differential bearing cap bolts.
- Tighten to 105 Nm (77 lb-ft).

32. Rotate the differential carrier to make sure it turns freely.

33. Install the Dial Indicator Gauge with Holding Fixture.





34. Using the Dial Indicator Gauge with Holding Fixture and the Clutch Housing Gauge, measure the ring gear backlash at 4 places to obtain a consistent reading.





35. NOTE: If the backlash is not within the specifications, correct it by increasing the thickness of one differential bearing shim and decreasing the thickness on the other differential bearing shim by the same amount.

To increase the backlash, install a thicker differential bearing shim and a thinner differential bearing shim as shown.





36. To decrease the backlash, install a thicker differential bearing shim and a thinner differential bearing shim as shown.





37. Select the appropriate shim by the thickness or the stripe color.





Differential Shim Size Chart






38. Remove the 4 differential bearing cap bolts.
- Remove the differential carrier.

39. Measure the thickness of the selected right and left bearing shims.

40. To establish differential bearing preload, increase both the left and right differential bearing shim thickness by 0.203 mm (0.008 in).

41. Install the Dial Indicator Gauge with Holding Fixture, Clutch Housing Gauge and Differential Carrier Spreader.





42. NOTICE: Overspreading may damage the differential housing.

NOTE: Tighten and loosen the differential carrier spreader adapters to normalize the housing adapters prior to taking the final Dial Indicator reading.

Spread the differential housing to the specification.

1. Adjust the Dial Indicator Gauge to zero.

2. Tighten the screw until spreading the differential housing to the specifications.

3. Remove the Dial Indicator Gauge with Holding Fixture and Clutch Housing Gauge.





43. NOTICE: To avoid galling the case, insert the shims with a light coating of grease before installing the differential carrier.

Place the differential bearing shims in the differential housing.





44. Install the differential carrier.

1. Position the 2 differential bearing cups on the differential bearings.

2. Lower the differential carrier in place between the differential bearing shims.





45. NOTE: Hand-tighten the differential bearing cap bolts prior to releasing the Differential Carrier Spreader.

Install the 2 differential bearing caps and 4 bolts in their original location.





46. Loosen and remove the Differential Carrier Spreader.





47. Install the Dial Indicator Gauge with Holding Fixture at the 12 o'clock position.





48. Using the Dial Indicator Gauge with Holding Fixture and Clutch Housing Gauge, recheck the ring gear backlash.





49. Apply marking compound and rotate the differential assembly 5 complete revolutions.

50. Verify an acceptable pattern check. For additional information, refer to Diagnosis and Testing. Testing and Inspection

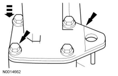
51. Assemble the axle housing tube.
- Align the bolt holes and position the axle tube.

- Position the axle identification tag.

- Install the 4 bolts.
- Tighten to 73 Nm (54 lb-ft).





52. Install a new stub shaft seal. For additional information, refer to Stub Shaft Pilot Bearing and Seal Stub Shaft Pilot Bearing and Seal.

53. Install a new circlip on the intermediate shaft end.





54. Insert the intermediate shaft and engage the circlip with the side gears.

55. Remove the axle assembly from the Holding Fixture and place it on the bench.

56. NOTE: Remove all of the silicone gasket and make sure the surfaces are free of oil before applying the new silicone gasket.

NOTE: The differential housing cover must be installed within 15 minutes of application of the silicone, or new sealant must be applied. If possible, allow one hour before filling with lubricant to make sure the silicone sealant has correctly cured.

Apply a continuous bead of sealant, of the specified thickness, to the differential housing cover mounting surface as shown in the illustration.

- Use silicone gasket and sealant.





57. Install the differential housing cover and the 10 cover bolts.
- Tighten to 32 Nm (24 lb-ft).





58. Install the axle assembly. For additional information, refer to Axle Assembly Axle Assembly.

59. Remove the fill plug and fill the axle assembly with the specified type and amount of lubricant.
- Tighten the fill plug to 25 Nm (18 lb-ft).