Operation CHARM: Car repair manuals for everyone.
Manuals through 2025 now available!

Our trusted friends have launched a new website named LEMON, which has newer manuals. It also contains all the CHARM manuals.

LEMON is the spiritual successor to CHARM, I recommend you try it!

Link: lemon-manuals.la or lemon-manuals.org.ua

(Some people have issue connecting. LEMON is investigating. For now, use Firefox or change your DNS server)

Or, hide this message: temporarily or permanently

Disassembly




Axle





















Front Axle Assembly - Disassembled View









Disassembly

1. Remove the axle assembly. For additional information, refer to Axle Assembly Axle Assembly.

2. Remove the 10 bolts and the differential housing cover.
- Drain the fluid.

- Remove the bolts.

- Remove the differential housing cover.





3. NOTICE: The fixture mounting bolts must have the minimum specified thread engagement in the carrier or damage to the component may occur.

Install the Transmission Holding Fixture.





4. Using the Transmission Fluid Pump Remover and Slide Hammer, remove the intermediate shaft.





5. Remove the 4 bolts and the axle housing tube.





6. NOTICE: The housing spreader adapter bolts must have the minimum specified thread engagement in the carrier or damage to the component may occur.

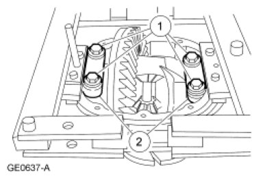
Install the Differential Housing Spreader Plate and Adapter for Differential Housing Spreader.





7. Position the Differential Carrier Spreader on the spreader adapters.





8. Install the Dial Indicator Gauge with Holding Fixture and Clutch Holding Gauge.
- Position the adapter tip in the spreader adapter hole.





9. NOTICE: Overspreading may damage the axle housing.

Spread the axle housing to the specification.

1. Adjust the Dial Indicator Gauge to zero.

2. Tighten the housing spreader screw to spread the axle housing to the specification.

3. Remove the Dial Indicator Gauge with Holding Fixture.





10. NOTE: Mark the differential bearing caps Top or Bottom and LH or RH appropriately before removing them. Always install the bearing caps in their original place and position.

Mark and remove the 2 differential bearing caps.

1. Remove the bolts.

2. Remove the differential bearing caps.





11. NOTICE: Use wood blocks to avoid axle housing damage.

Remove the differential assembly from the axle housing.

1. Position the wood blocks.

2. Position and push down on the 2 pry bars.

3. Remove the differential assembly.

4. Remove the Differential Carrier Spreader.





12. Index-mark the axle U-joint flange to the pinion stem.





13. Install the Drive Pinion Flange Holding Fixture and loosen, but do not remove, the pinion nut.





14. With the pinion nut still engaged by a few threads, use the 2 Jaw Puller to separate the axle U-joint flange from the pinion gear.





15. Remove the nut and the flange.

16. Using the Drive Pinion Thread Protector and a soft hammer, remove the pinion gear.





17. Discard the drive pinion collapsible spacer.





18. NOTICE: Do not damage the carrier housing while removing the pinion seal.

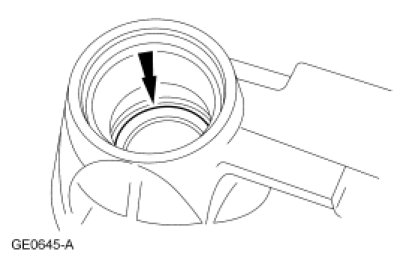
Remove the pinion seal and slinger.

- Pry up on the seal flange. Install gripping pliers, and strike with a hammer to remove the seal.





19. Remove the outer pinion bearing.

20. Using the Bearing Cup Remover and Slide Hammer, remove the inner pinion bearing cup.





21. NOTE: The pinion bearing oil baffle aids in bearing lubrication. Normally, it is not necessary to remove the baffle.

If necessary, remove the pinion bearing oil baffle.





22. Remove the outer pinion bearing cup by tapping alternately on each side to prevent the cup from cocking.





23. Using the Bearing Remover and a suitable press, remove the pinion bearing.





24. NOTE: A drive pinion bearing adjustment shim sits under the pinion bearing. Use a micrometer to measure the shim thickness. Record the measurement for comparison to the shim gauge reading taken prior to installing the pinion bearing.

Remove and measure the drive pinion bearing adjustment shim.





25. NOTE: Use a drift punch to separate the ring gear from the differential case.

Remove and discard the 10 bolts and remove the ring gear.





26. Using the 2 Jaw Puller and Step Plate, remove the differential bearings.