Operation CHARM: Car repair manuals for everyone.
Manuals through 2025 now available!

Our trusted friends have launched a new website named LEMON, which has newer manuals. It also contains all the CHARM manuals.

LEMON is the spiritual successor to CHARM, I recommend you try it!

Link: lemon-manuals.la or lemon-manuals.org.ua

(Some people have issue connecting. LEMON is investigating. For now, use Firefox or change your DNS server)

Or, hide this message: temporarily or permanently

Front Drive Axle/Differential




Differential Case Runout Check





1. Remove the differential carrier. For additional information, refer to Differential Carrier Differential Carrier.

2. NOTE: Use a drift punch to separate the ring gear from the differential case.

Remove and discard the 10 bolts. Remove the ring gear.





3. NOTE: Visually inspect the differential bearing cups and cones for discoloration indicating bearing overheating or failure.

NOTE: It may be necessary to use the Differential Carrier Spreader to carry out this step.

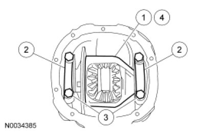
Install the differential case with the bearing cups and all the shims in the housing.

1. Position the differential case with the bearing cups and shims in their original location.

2. Install the 2 bearing caps.

3. Install the 4 bolts.
- Tighten to 105 Nm (77 lb-ft).

4. Rotate the differential case to make sure the bearings have seated correctly.





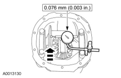
4. Install the Dial Indicator Gauge with Holding Fixture.





5. Rotate the differential case and check the differential case runout using the Dial Indicator Gauge with Holding Fixture.
- If the runout does not exceed the specification, install a new ring gear and pinion.

- If runout exceeds the specification, the ring gear is true and the condition is due to differential case/differential bearing damage.
- Inspect the differential bearings and the differential case. Always install new differential bearings when installing a new differential case, or if a bearing condition is questionable.





6. Remove the bearing caps and the differential case with the bearing cups and shims from the housing.

7. If necessary, using the 2 Jaw Puller and Step Plate, remove the differential bearings.





8. NOTICE: Press against the differential bearing inner cone only or damage to the component may occur.

Install the new differential bearings.

1. Position the appropriate differential bearing (RH or LH).

2. Using a suitable press and the Differential Side Bearing Installer, install the differential bearing.
- Repeat the steps for the other differential bearing.





9. NOTE: It may be necessary to use the Differential Carrier Spreader to carry out this step.

NOTE: Recheck the flange runout.

Install the differential case with the bearing cups and the shims in the housing.

1. Position the differential case with the bearing cups and shims in their original locations.

2. Install the 2 bearing caps.

3. Install the 4 bolts.
- Tighten to 105 Nm (77 lb-ft).

4. Rotate the differential case to make sure the bearings have seated correctly.





10. Install the Dial Indicator Gauge with Holding Fixture.





11. NOTE: If the runout is still excessive, install a new differential case.

Using the Dial Indicator Gauge with Holding Fixture, check the runout with the new differential bearings. If the runout does not exceed the specification, use the new differential bearings for assembly.





12. Remove the 4 bolts.





13. Remove the differential case with the bearing cups and the shims from the housing.

1. Remove the 2 bearing caps.

2. Remove the differential case with the bearing cups and the shims from the housing.





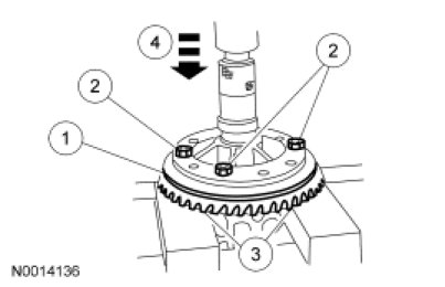
14. Install the differential ring gear.

1. Place the differential ring gear on the differential assembly.

2. Hand-start 3 new ring gear bolts to align the holes in the differential ring gear and the differential assembly.

3. Place the differential carrier and differential ring gear onto the press bed blocks with the differential ring gear teeth facing downward.

4. Press the differential ring gear into place.





15. Install the 10 new ring gear bolts.
- Tighten to 128 Nm (95 lb-ft).





16. Install the differential carrier. For additional information, refer to Differential Carrier Differential Carrier.