Operation CHARM: Car repair manuals for everyone.
Manuals through 2025 now available!

Our trusted friends have launched a new website named LEMON, which has newer manuals. It also contains all the CHARM manuals.

LEMON is the spiritual successor to CHARM, I recommend you try it!

Link: lemon-manuals.la or lemon-manuals.org.ua

(Some people have issue connecting. LEMON is investigating. For now, use Firefox or change your DNS server)

Or, hide this message: temporarily or permanently

Overhaul




Transfer Case - Navigator













1-Speed Transfer Case - Rear View









1-Speed Transfer Case - Front View









Disassembly

1. NOTICE: Use a suitable cleaning solvent to clean the transfer case. Seal all openings before cleaning the transfer case exterior. This will prevent entry of dirt and water, which may cause damage to internal components.

Clean the transfer case exterior with solvent and dry with compressed air.

2. Using the Transmission Holding Fixture, secure the transfer case to a work bench. Rotate the transfer case so that the output shaft is pointing upward.





3. Drain the fluid from the transfer case, if not done previously.





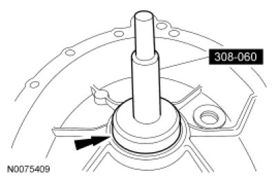
4. Using a suitable tool, remove and discard the rear output shaft seal.





5. Remove the inner connector retainer. Press the release tab and remove the coil wire pin (blue wire).





6. Remove the 2 connector bracket bolts and the connector bracket.





7. Remove the 3 coil nuts and washers.





8. NOTE: It is normal to find metal shavings after removing the self-tapping transfer case bolts.

Remove the 20 transfer case bolts.





9. Using the pry bosses, separate the transfer case halves.





10. Using the Bearing Cup Remover with the Slide Hammer, remove the rear output shaft support bearing.
- Inspect the bearing for wear or damage. Install a new bearing as necessary.





11. Using the Bearing Cup Remover with the Slide Hammer, remove the front output shaft rear bearing.
- Inspect the bearing for wear or damage. Install a new bearing as necessary.





12. Remove the snap ring.
- Inspect the snap ring for wear or damage. Install a new snap ring as necessary.





13. Remove the spacer.





14. Remove the caged thrust bearing assembly.
- Inspect the bearing for wear or damage. Install a new bearing as necessary.





15. Remove the cam/coil housing.





16. Remove the 3 steel balls and the cam.





17. Remove the wave spring.





18. Remove and discard the snap ring.





19. NOTICE: When removing the clutch pack assembly, do not separate the clutch pack assembly. Keep tension on the clutch pack during removal. Set the clutch pack assembly on the bench in the same position as located in the transfer case. The thrust washer in the lower clutch pack uses tabs to hold it in place. If the thrust washer is not in place, a transfer case clearance problem will occur.

NOTICE: If the clutch pack is disassembled, a new clutch pack must be installed. Failure to install a new clutch pack can result in component failure.

Remove the clutch pack assembly.





20. Remove the drive chain and the sprockets as an assembly.
- Inspect the drive chain for wear or damage. Inspect the sprockets for broken or cracked teeth. Install new components as necessary.





21. Remove the thrust bearing assembly.

1. Remove the thrust washer.
- The upper thrust washer may be attached to the sprocket.

2. Remove the thrust bearing.

3. Remove the thrust washer.

- Inspect the washers and bearing for wear or damage. Install new components as necessary.





22. Remove and clean the oil pan magnet.





23. Remove the oil pump assembly.





24. Remove the output shaft.





25. Remove the input shaft.





26. NOTE: Do not let the front output shaft fall when removing the snap ring.

Remove the snap ring and the front output shaft.

- Inspect the snap ring for wear or damage. Install a new snap ring as necessary.





27. NOTICE: Carefully remove the seal, do not damage the seal bore.

Remove and discard the front output shaft oil seal.





28. NOTICE: Carefully remove the seal, do not damage the seal bore.

Remove and discard the front input shaft seal.





29. Using a suitable driver, remove the front input shaft bearing.





30. Using a suitable driver, remove the front output shaft support bearing.
- Inspect the bearing for wear or damage. Install a new bearing as necessary.





Assembly

1. Lubricate all internal components with the recommended transfer case lubricant during reassembly.

2. Clean the mating surfaces of the cases.

3. Using a suitable press and the Output Shaft Front Bearing Installer with the Handle, install the front input shaft bearing.





4. Using a suitable press and the Front Axle Oil Seal Installer with the Handle, install the front shaft support bearing.





5. Using the Input Shaft Oil Seal Installer, install a new front output shaft seal.





6. Install the case to the Transmission Holding Fixture. Secure the case and the Transmission Holding Fixture to the work bench.





7. Using the Input Shaft Oil Seal Installer, install a new front input shaft seal.





8. Install the front output shaft and the snap ring.





9. Install the input shaft.





10. Install the output shaft.





11. NOTE: Make sure the oil pump finger is in the slot in the case.

Install the oil pump assembly.





12. Install the oil pan magnet into the slot in the case.

13. Install the 3-piece thrust bearing assembly: the thrust washer, thrust bearing and thrust washer.

14. Install the drive chain and the sprockets as an assembly.





15. NOTICE: When installing the clutch assembly, do not separate the clutch pack assembly. The thrust washer in the lower clutch pack uses tabs to hold it in place. If the thrust washer is not in place, a transfer case clearance problem will occur.

NOTICE: If the clutch pack is disassembled, a new clutch pack must be installed. Failure to install a new clutch pack can result in component failure.

Install the clutch pack assembly. Make sure to align the clutch pack with the sprocket.





16. Install a new snap ring.





17. Install the wave spring.





18. Install the cam and the steel balls.





19. Install the cam/coil housing.





20. Install the caged thrust bearing assembly.





21. Install the spacer.





22. Install the snap ring.





23. Using a suitable press and the Mainshaft Bearing Installer, install the rear output shaft support bearing.





24. Using a suitable press and the Mainshaft Bearing Installer, install the front output shaft rear bearing.





25. NOTICE: Applying too much silicone sealant will plug the fluid filter and cause transfer case failure.

Apply a bead of silicone sealant to the transfer case mating surface. Position the 2 transfer case halves together, aligning the coil studs through the case holes. Tighten the 20 transfer case bolts evenly in a star pattern.

- Tighten to 29 Nm (21 lb-ft).





26. Install the 3 coil washers and nuts.
- Tighten to 10 Nm (89 lb-in).

27. Using the Input Shaft Oil Seal Installer, install the rear output shaft seal.





28. NOTE: After the wire is inserted into the connector, gently pull the wire back to verify the pin is locked inside the connector.

Insert the coil wire pin in the electrical connector and install the inner connector retainer.





29. Install the connector bracket and the 2 connector bracket bolts.
- Tighten to 10 Nm (89 lb-in).





30. Secure the transfer case to a suitable transmission jack and remove the transfer case from the Transmission Holding Fixture.