Operation CHARM: Car repair manuals for everyone.
Manuals through 2025 now available!

Our trusted friends have launched a new website named LEMON, which has newer manuals. It also contains all the CHARM manuals.

LEMON is the spiritual successor to CHARM, I recommend you try it!

Link: lemon-manuals.la or lemon-manuals.org.ua

(Some people have issue connecting. LEMON is investigating. For now, use Firefox or change your DNS server)

Or, hide this message: temporarily or permanently

Liftgate Window Glass: Service and Repair




Window Glass - Liftgate













Removal and Installation

Window glass assembly

1. Remove the rear window wiper motor. For additional information, refer to Wipers and Washers Wiper Motor - Rear Window.

2. Disconnect the rear window defrost electrical connectors.





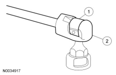
3. NOTICE: Do not extend the socket clips more than 2.0 mm (0.08 in) or failure of the socket can occur.

NOTE: The liftgate glass must be supported when removing and installing the liftgate assist cylinders.

Disconnect the 2 liftgate glass assist cylinders.

1. Insert a screwdriver blade under the socket clip and lift.

2. Gently pull the socket off the ball stud.





Window glass assembly or hinge assembly

4. Remove the liftgate glass hinge-to-body fasteners and remove the glass.
- To install, tighten to 12 Nm (106 lb-in).





Window hinge assembly

5. Remove the liftgate glass to hinge fasteners and remove the glass.
- Apply threadlock to the liftgate glass-to-hinge fasteners during installation.

- To install, tighten to 8 Nm (71 lb-in).





Window glass assembly or window hinge assembly

6. To install, reverse the removal procedure.
- Check the liftgate glass for high effort when closing. If high effort is present, adjust the striker one-half turn outboard. If high effort is still present, adjust the striker an additional one-half turn outboard. Do not exceed one full turn.