Operation CHARM: Car repair manuals for everyone.
Manuals through 2025 now available!

Our trusted friends have launched a new website named LEMON, which has newer manuals. It also contains all the CHARM manuals.

LEMON is the spiritual successor to CHARM, I recommend you try it!

Link: lemon-manuals.la or lemon-manuals.org.ua

(Some people have issue connecting. LEMON is investigating. For now, use Firefox or change your DNS server)

Or, hide this message: temporarily or permanently

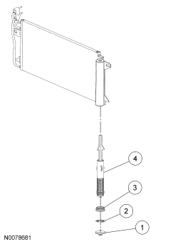
Receiver Dryer: Service and Repair




Receiver Drier Cartridge













Removal and Installation

NOTE: Installation of a new receiver/drier desiccant cartridge is not required when repairing the A/C system, except when there is physical evidence of contamination from a failed A/C compressor or damage to the receiver/drier desiccant cartridge. Damage to the receiver/drier desiccant cartridge includes physical damage to the receiver/drier desiccant cartridge or moisture contamination. Moisture contamination results only from a complete loss of refrigerant and equalization of the refrigerant system pressure with atmospheric pressure for a period longer than one hour. If even a slight amount of positive refrigerant pressure is present in the system before repairs are carried out, the receiver/drier desiccant cartridge should not be replaced.

1. Remove the condenser core. For additional information, refer to Condenser Core Service and Repair.

2. Unscrew and remove the plastic receiver/drier cap.

3. Remove the receiver/drier plug.
1. Push the receiver/drier plug upwards and remove the snap ring.

2. Install an M5 bolt in the center of the receiver drier plug and remove the plug.






4. Using a suitable tool, grasp the receiver/drier cartridge grab handle and remove the receiver/drier cartridge.





5. To install, reverse the removal procedure.
- Lubricate the receiver/drier plug O-ring seals using residual refrigerant oil from inside the receiver/drier.