Operation CHARM: Car repair manuals for everyone.
Manuals through 2025 now available!

Our trusted friends have launched a new website named LEMON, which has newer manuals. It also contains all the CHARM manuals.

LEMON is the spiritual successor to CHARM, I recommend you try it!

Link: lemon-manuals.la or lemon-manuals.org.ua

(Some people have issue connecting. LEMON is investigating. For now, use Firefox or change your DNS server)

Or, hide this message: temporarily or permanently

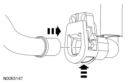
Quick Connect Coupling




Quick Connect Coupling





Disconnect - Type I

WARNING: Do not smoke, carry lighted tobacco or have an open flame of any type when working on or near any fuel-related component. Highly flammable mixtures are always present and may be ignited. Failure to follow these instructions may result in serious personal injury.

WARNING: Do not carry personal electronic devices such as cell phones, pagers or audio equipment of any type when working on or near any fuel-related component. Highly flammable mixtures are always present and may be ignited. Failure to follow these instructions may result in serious personal injury.

NOTICE: When reusing liquid or vapor tube connectors, make sure to use compressed air to remove any foreign material from the connector retaining clip area before separating from the tube or damage to the tube or connector retaining clip can occur. Apply clean engine oil to the end of the tube before inserting the tube into the connector.

NOTICE: Fuel injection equipment is manufactured to very precise tolerances and fine clearances. It is essential that absolute cleanliness is observed when working with these components or component damage can occur. Always install blanking plugs to any open orifices or tubes.

1. NOTICE: Do not use any tools. The use of tools may cause a deformity in the clip components which may cause fuel leaks.

Disconnect the quick connect coupling.
- Push the connector toward the tube to release pressure.

- Push the release tab clockwise.

- Disconnect the quick connect coupling.






Connect - Type I

1. Inspect and clean both quick connect coupling ends.

2. NOTICE: Do not use any tools. The use of tools may cause a deformity in the clip components which may cause fuel leaks.

NOTE: Make sure the fuel tube clicks into place when installing the tube. To make sure that the fuel tube is fully seated, pull on the tube.

NOTE: Apply clean engine oil to the end of the tube and the quick connect coupling O-ring seals.

Connect the quick connect coupling.






Disconnect - Type II

WARNING: Always disconnect the battery ground cable at the battery when working on an evaporative emission (EVAP) system or fuel-related component. Highly flammable mixtures are always present and may be ignited. Failure to follow these instructions may result in serious personal injury.

WARNING: Do not smoke, carry lighted tobacco or have an open flame of any type when working on or near any fuel-related component. Highly flammable mixtures are always present and may be ignited. Failure to follow these instructions may result in serious personal injury.

WARNING: Do not carry personal electronic devices such as cell phones, pagers or audio equipment of any type when working on or near any fuel-related component. Highly flammable mixtures are always present and may be ignited. Failure to follow these instructions may result in serious personal injury.

WARNING: When handling fuel, always observe fuel handling precautions and be prepared in the event of fuel spillage. Spilled fuel may be ignited by hot vehicle components or other ignition sources. Failure to follow these instructions may result in serious personal injury.

WARNING: Before working on or disconnecting any of the fuel tubes or fuel system components, relieve the fuel system pressure to prevent accidental spraying of fuel. Fuel in the fuel system remains under high pressure, even when the engine is not running. Failure to follow this instruction may result in serious personal injury.

NOTICE: When reusing liquid or vapor tube connectors, make sure to use compressed air to remove any foreign material from the connector retaining clip area before separating from the tube or damage to the tube or connector retaining clip can occur. Apply clean engine oil to the end of the tube before inserting the tube into the connector.

NOTICE: Fuel injection equipment is manufactured to very precise tolerances and fine clearances. It is essential that absolute cleanliness is observed when working with these components or component damage can occur. Always install blanking plugs to any open orifices or tubes.

1. If servicing a liquid fuel tube quick connect coupling, release the fuel system pressure. For additional information, refer to Fuel System Pressure Release Service and Repair.

2. Disconnect the battery ground cable.

3. NOTICE: Do not use any tools. The use of tools may cause a deformity in the clip components which may cause fuel leaks.

NOTE: When reusing liquid or vapor tube quick connect couplings, make sure to use compressed air to remove any foreign material from the tube. Apply clean engine oil to the end of the tube before connecting the quick connect coupling.

Spread the legs of the retainer clip and pull it to the outward position in the quick connect coupling.






4. Depress the retainer clip and disconnect the quick connect coupling from the tube.





Connect - Type II

1. Install the quick connect coupling onto the tube until fully seated.





2. NOTICE: Do not use any tools. The use of tools may cause a deformity in the clip components which may cause fuel leaks.

NOTE: Make sure the retainer clip is fully seated and locked onto the tube by pulling on the quick connect coupling.

Press the retainer clip into the quick connect coupling body until flush and the legs are locked in place.






3. Connect the battery ground cable.

Disconnect - Type III

WARNING: Always disconnect the battery ground cable at the battery when working on an evaporative emission (EVAP) system or fuel-related component. Highly flammable mixtures are always present and may be ignited. Failure to follow these instructions may result in serious personal injury.

WARNING: Do not smoke, carry lighted tobacco or have an open flame of any type when working on or near any fuel-related component. Highly flammable mixtures are always present and may be ignited. Failure to follow these instructions may result in serious personal injury.

WARNING: Do not carry personal electronic devices such as cell phones, pagers or audio equipment of any type when working on or near any fuel-related component. Highly flammable mixtures are always present and may be ignited. Failure to follow these instructions may result in serious personal injury.

WARNING: Before working on or disconnecting any of the fuel tubes or fuel system components, relieve the fuel system pressure to prevent accidental spraying of fuel. Fuel in the fuel system remains under high pressure, even when the engine is not running. Failure to follow this instruction may result in serious personal injury.

WARNING: When handling fuel, always observe fuel handling precautions and be prepared in the event of fuel spillage. Spilled fuel may be ignited by hot vehicle components or other ignition sources. Failure to follow these instructions may result in serious personal injury.

NOTICE: When reusing liquid or vapor tube connectors, make sure to use compressed air to remove any foreign material from the connector retaining clip area before separating from the tube or damage to the tube or connector retaining clip can occur. Apply clean engine oil to the end of the tube before inserting the tube into the connector.

NOTICE: Fuel injection equipment is manufactured to very precise tolerances and fine clearances. It is essential that absolute cleanliness is observed when working with these components or component damage can occur. Always install blanking plugs to any open orifices or tubes.

1. If servicing a liquid fuel tube, release the fuel system pressure. For additional information, refer to Fuel System Pressure Release Service and Repair.

2. Disconnect the battery ground cable.

3. NOTICE: Do not use any tools. The use of tools may cause a deformity in the clip components which may cause fuel leaks.

Disconnect the fuel tube quick connect coupling.
- Press the fuel tube quick connect coupling button and pull the fuel tube to disconnect.






Connect - Type III

1. Inspect and clean both quick connect coupling ends.

2. NOTE: Make sure the fuel tube clicks into place when installing the tube. To make sure that the fuel tube is fully seated, pull on the tube.

NOTE: Apply clean engine oil to the end of the tube and the quick connect coupling O-ring seals.

Install the quick connect coupling onto the tube until it is fully seated.






3. Connect the battery ground cable.

Disconnect - Type IV

WARNING: Always disconnect the battery ground cable at the battery when working on an evaporative emission (EVAP) system or fuel-related component. Highly flammable mixtures are always present and may be ignited. Failure to follow these instructions may result in serious personal injury.

WARNING: Do not smoke, carry lighted tobacco or have an open flame of any type when working on or near any fuel-related component. Highly flammable mixtures are always present and may be ignited. Failure to follow these instructions may result in serious personal injury.

WARNING: Do not carry personal electronic devices such as cell phones, pagers or audio equipment of any type when working on or near any fuel-related component. Highly flammable mixtures are always present and may be ignited. Failure to follow these instructions may result in serious personal injury.

WARNING: Before working on or disconnecting any of the fuel tubes or fuel system components, relieve the fuel system pressure to prevent accidental spraying of fuel. Fuel in the fuel system remains under high pressure, even when the engine is not running. Failure to follow this instruction may result in serious personal injury.

WARNING: When handling fuel, always observe fuel handling precautions and be prepared in the event of fuel spillage. Spilled fuel may be ignited by hot vehicle components or other ignition sources. Failure to follow these instructions may result in serious personal injury.

NOTICE: When reusing liquid or vapor tube connectors, make sure to use compressed air to remove any foreign material from the connector retaining clip area before separating from the tube or damage to the tube or connector retaining clip can occur. Apply clean engine oil to the end of the tube before inserting the tube into the connector.

NOTICE: Fuel injection equipment is manufactured to very precise tolerances and fine clearances. It is essential that absolute cleanliness is observed when working with these components or component damage can occur. Always install blanking plugs to any open orifices or tubes.

1. If servicing a liquid fuel tube, release the fuel system pressure. For additional information, refer to Fuel System Pressure Release Service and Repair.

2. Disconnect the battery ground cable.

3. NOTICE: Do not use any tools. The use of tools may cause a deformity in the clip components which may cause fuel leaks.

Disconnect the fuel tube quick connect coupling.
- Press the 2 fuel tube quick connect coupling buttons and pull the fuel tube to disconnect.






Connect - Type IV

1. Inspect and clean both quick connect coupling ends.

2. NOTE: Make sure the fuel tube clicks into place when installing the tube. To make sure that the fuel tube is fully seated, pull on the tube.

NOTE: Apply clean engine oil to the end of the tube and the quick connect coupling O-ring seals.

Install the quick connect coupling onto the tube until it is fully seated.






3. Connect the battery ground cable.

Disconnect - Type V

WARNING: Do not smoke, carry lighted tobacco or have an open flame of any type when working on or near any fuel-related component. Highly flammable mixtures are always present and may be ignited. Failure to follow these instructions may result in serious personal injury.

WARNING: Do not carry personal electronic devices such as cell phones, pagers or audio equipment of any type when working on or near any fuel-related component. Highly flammable mixtures are always present and may be ignited. Failure to follow these instructions may result in serious personal injury.

WARNING: Before working on or disconnecting any of the fuel tubes or fuel system components, relieve the fuel system pressure to prevent accidental spraying of fuel. Fuel in the fuel system remains under high pressure, even when the engine is not running. Failure to follow this instruction may result in serious personal injury.

WARNING: When handling fuel, always observe fuel handling precautions and be prepared in the event of fuel spillage. Spilled fuel may be ignited by hot vehicle components or other ignition sources. Failure to follow these instructions may result in serious personal injury.

WARNING: Always disconnect the battery ground cable at the battery when working on an evaporative emission (EVAP) system or fuel-related component. Highly flammable mixtures are always present and may be ignited. Failure to follow these instructions may result in serious personal injury.

NOTICE: When reusing liquid or vapor tube connectors, make sure to use compressed air to remove any foreign material from the connector retaining clip area before separating from the tube or damage to the tube or connector retaining clip can occur. Apply clean engine oil to the end of the tube before inserting the tube into the connector.

NOTICE: Fuel injection equipment is manufactured to very precise tolerances and fine clearances. It is essential that absolute cleanliness is observed when working with these components or component damage can occur. Always install blanking plugs to any open orifices or tubes.

1. If servicing a liquid fuel tube, release the fuel system pressure. For additional information, refer to Fuel System Pressure Release Service and Repair.

2. Disconnect the battery ground cable.

3. NOTICE: Do not use any tools. The use of tools may cause a deformity in the clip components which may cause fuel leaks.

Depress the legs of the retainer clip and position the clip to the outward position.






4. Disconnect the quick connect coupling from the fuel tube.





Connect - Type V

1. Inspect and clean both quick connect coupling ends.

2. NOTE: Apply clean engine oil to the end of the tube and the quick connect coupling O-ring seals.

Install the quick connect coupling onto the fuel tube until fully seated.






3. NOTICE: Do not use any tools. The use of tools may cause a deformity in the clip components which may cause fuel leaks.

NOTE: Make sure the retainer clip is fully seated and locked onto the fuel tube by pulling on the quick connect coupling.

Press the retainer clip into the quick connect coupling body until flush and the legs are locked in place.






4. Connect the battery ground cable.

Disconnect - Type VI

WARNING: Do not smoke, carry lighted tobacco or have an open flame of any type when working on or near any fuel-related component. Highly flammable mixtures are always present and may be ignited. Failure to follow these instructions may result in serious personal injury.

WARNING: Do not carry personal electronic devices such as cell phones, pagers or audio equipment of any type when working on or near any fuel-related component. Highly flammable mixtures are always present and may be ignited. Failure to follow these instructions may result in serious personal injury.

WARNING: Before working on or disconnecting any of the fuel tubes or fuel system components, relieve the fuel system pressure to prevent accidental spraying of fuel. Fuel in the fuel system remains under high pressure, even when the engine is not running. Failure to follow this instruction may result in serious personal injury.

WARNING: When handling fuel, always observe fuel handling precautions and be prepared in the event of fuel spillage. Spilled fuel may be ignited by hot vehicle components or other ignition sources. Failure to follow these instructions may result in serious personal injury.

NOTICE: When reusing liquid or vapor tube connectors, make sure to use compressed air to remove any foreign material from the connector retaining clip area before separating from the tube or damage to the tube or connector retaining clip can occur. Apply clean engine oil to the end of the tube before inserting the tube into the connector.

NOTICE: Fuel injection equipment is manufactured to very precise tolerances and fine clearances. It is essential that absolute cleanliness is observed when working with these components or component damage can occur. Always install blanking plugs to any open orifices or tubes.

1. If servicing a liquid fuel tube, release the fuel system pressure. For additional information, refer to Fuel System Pressure Release Service and Repair.

2. Disconnect the battery ground cable.

3. NOTICE: Do not use any tools. The use of tools may cause a deformity in the clip components which may cause fuel leaks.

Unclip the locking tab.






4. Depress the tabs and press the clip downward.





5. Separate the quick connect coupling.





Connect - Type VI

1. Inspect and clean both quick connect coupling ends.

2. NOTE: Make sure the fuel tube clicks into place when installing the tube. To make sure that the fuel tube is fully seated, pull on the tube.

NOTE: Apply clean engine oil to the end of the tube and the quick connect coupling O-ring seals.

Connect the tube into the quick connect coupling.






3. NOTICE: Do not use any tools. The use of tools may cause a deformity in the clip components which may cause fuel leaks.

Push the clip up into the quick connect coupling. Pull on the tube to make sure it is seated correctly.






4. Clip the locking tab into place.





5. Connect the battery ground cable.

Disconnect - Type VII

WARNING: Do not smoke, carry lighted tobacco or have an open flame of any type when working on or near any fuel-related component. Highly flammable mixtures are always present and may be ignited. Failure to follow these instructions may result in serious personal injury.

WARNING: Do not carry personal electronic devices such as cell phones, pagers or audio equipment of any type when working on or near any fuel-related component. Highly flammable mixtures are always present and may be ignited. Failure to follow these instructions may result in serious personal injury.

WARNING: Before working on or disconnecting any of the fuel tubes or fuel system components, relieve the fuel system pressure to prevent accidental spraying of fuel. Fuel in the fuel system remains under high pressure, even when the engine is not running. Failure to follow this instruction may result in serious personal injury.

WARNING: When handling fuel, always observe fuel handling precautions and be prepared in the event of fuel spillage. Spilled fuel may be ignited by hot vehicle components or other ignition sources. Failure to follow these instructions may result in serious personal injury.

NOTICE: When reusing liquid or vapor tube connectors, make sure to use compressed air to remove any foreign material from the connector retaining clip area before separating from the tube or damage to the tube or connector retaining clip can occur. Apply clean engine oil to the end of the tube before inserting the tube into the connector.

NOTICE: Fuel injection equipment is manufactured to very precise tolerances and fine clearances. It is essential that absolute cleanliness is observed when working with these components or component damage can occur. Always install blanking plugs to any open orifices or tubes.

1. If servicing a liquid fuel tube, release the fuel system pressure. For additional information, refer to Fuel System Pressure Release Service and Repair.

2. Disconnect the battery ground cable.

3. NOTICE: Do not use any tools. The use of tools may cause a deformity in the clip components which may cause fuel leaks.

Squeeze the quick connect coupling retainer locking tabs to release the locking mechanism.






4. Push the locking mechanism outward to release the tube.





5. Remove the quick connect coupling from the tube.





Connect - Type VII

1. Inspect and clean both quick connect coupling ends.

2. NOTE: Make sure the fuel tube clicks into place when installing the tube. To make sure that the fuel tube is fully seated, pull on the tube.

NOTE: Apply clean engine oil to the end of the tube and the quick connect coupling O-ring seals.

Install the quick connect coupling onto the tube.






3. NOTICE: Do not use any tools. The use of tools may cause a deformity in the clip components which may cause fuel leaks.

Depress the quick connect coupling locking mechanism into the lock position.






4. Visually inspect and verify that the locking mechanism is flush with the quick connect coupling housing and that the locking tabs are securely fastened.





5. Pull on the quick connect coupling and the tube to make sure it is securely fastened.

6. Connect the battery ground cable.