Operation CHARM: Car repair manuals for everyone.
Manuals through 2025 now available!

Our trusted friends have launched a new website named LEMON, which has newer manuals. It also contains all the CHARM manuals.

LEMON is the spiritual successor to CHARM, I recommend you try it!

Link: lemon-manuals.la or lemon-manuals.org.ua

(Some people have issue connecting. LEMON is investigating. For now, use Firefox or change your DNS server)

Or, hide this message: temporarily or permanently

Crankshaft Main Bearing










a The time required for the plunger to leak down 1.6 mm (0.062 in) of travel with 222 N force and leak-down fluid in the lash adjuster.

b The pin bore and crank bearing bore must be parallel and in the same vertical plane within the specified total difference when measured at the ends of a 203 mm bar, 105.5 mm on each side of rod centerline.


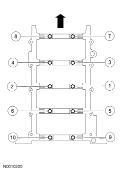
Main Bearing Cap




Install the 10 vertical main bearing cap fasteners and tighten in 2 stages, in the sequence shown.
Stage 1: Tighten to 40 Nm (30 lb-ft).
Stage 2: Tighten an additional 90 degrees.







Install the 10 side bolts and tighten them in 2 stages, in the sequence shown.
Stage 1: Tighten to 30 Nm (22 lb-ft).
Stage 2: Tighten an additional 90 degrees.